Промышленная Сибирь Ярмарка Сибири Промышленность СФО Электронные торги НОУ-ХАУ Электронные магазины Карта сайта
 
 

Поиск патентов

Как искать?
Реферат
Название
Публикация
Регистрационный номер
Имя заявителя
Имя изобретателя
Имя патентообладателя

    





Оформить заказ и задать интересующие Вас вопросы Вы можете напрямую c 6-00 до 14-30 по московскому времени кроме сб, вс. whatsapp 8-950-950-9888

На данной странице представлена ознакомительная часть выбранного Вами патента

Для получения более подробной информации о патенте (полное описание, формула изобретения и т.д.) Вам необходимо сделать заказ. Нажмите на «Корзину»


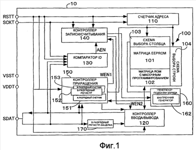
ПОЛУПРОВОДНИКОВОЕ ЗАПОМИНАЮЩЕЕ УСТРОЙСТВО

Номер публикации патента: 2391722

Вид документа: C2 
Страна публикации: RU 
Рег. номер заявки: 2007149036/09 
  Сделать заказПолучить полное описание патента

Редакция МПК: 
Основные коды МПК: G11C016/06   G11B023/00   H04N001/034   B41J002/00    
Аналоги изобретения: JP 2000094715 А, 04.04.2000. RU 2236947 C2, 27.09.2004. JP 2001-339291, 07.12.2001. US 6836853 B1, 28.12.2004. US 5231592 A, 27.07.1993. JP 2001-189083 A, 10.07.2001. WO 2001/025017 A1, 12.04.2001. 

Имя заявителя: СЕЙКО ЭПСОН КОРПОРЕЙШН (JP) 
Изобретатели: АСАУТИ Нобору (JP)
ОЦУКА Еитаро (JP) 
Патентообладатели: СЕЙКО ЭПСОН КОРПОРЕЙШН (JP) 
Приоритетные данные: 30.05.2005 JP 2005-157181
23.06.2005 JP 2005-182808 

Реферат


Изобретение относится к полупроводниковым запоминающим устройствам с последовательным доступом, в частности к способу управления записью данных в указанное запоминающее устройство. Техническим результатом является защита полупроводникового запоминающего устройства от записи в него входных данных, которые не удовлетворяют конкретным требованиям для данных. В том случае когда значение входных данных для записи больше значения существующих данных в матрице памяти, полупроводниковое запоминающее устройство разрешает записывать входные данные для записи в матрицу памяти. Котроллер считывания считывает существующие данные из матрицы памяти и сравнивает их с данными для записи, зафиксированными в 8-разрядном регистре-защелке. В том случае когда значение данных для записи больше значения существующих данных, контроллер приращения выдает сигнал WEN1 разрешения записи в контроллер записи/считывания и выполняет запись данных для записи, зафиксированных в 8-разрядном регистре-защелке, в матрицу памяти. 18 н. и 12 з.п. ф-лы, 15 ил.

Дирекция сайта "Промышленная Сибирь"
Россия, г.Омск, ул.Учебная, 199-Б, к.408А
Сайт открыт 01.11.2000
© 2000-2018 Промышленная Сибирь
Разработка дизайна сайта:
Дизайн-студия "RayStudio"