Промышленная Сибирь Ярмарка Сибири Промышленность СФО Электронные торги НОУ-ХАУ Электронные магазины Карта сайта
 
 

Поиск патентов

Как искать?
Реферат
Название
Публикация
Регистрационный номер
Имя заявителя
Имя изобретателя
Имя патентообладателя

    





Оформить заказ и задать интересующие Вас вопросы Вы можете напрямую c 6-00 до 14-30 по московскому времени кроме сб, вс. whatsapp 8-950-950-9888

На данной странице представлена ознакомительная часть выбранного Вами патента

Для получения более подробной информации о патенте (полное описание, формула изобретения и т.д.) Вам необходимо сделать заказ. Нажмите на «Корзину»


УСТРОЙСТВО УНИЧТОЖЕНИЯ ИНФОРМАЦИИ С ОПТИЧЕСКИХ И МАГНИТООПТИЧЕСКИХ ДИСКОВ

Номер публикации патента: 2394285

Вид документа: C1 
Страна публикации: RU 
Рег. номер заявки: 2009124094/28 
  Сделать заказПолучить полное описание патента

Редакция МПК: 
Основные коды МПК: G11B007/0055    
Аналоги изобретения: US 2003132329 A1, 17.07.2003. DE 10061134 A1, 20.12.2001. WO 9839107 A1, 11.09.1998. US 5199143 A, 06.04.1993. RU 2002125826 A, 20.04.2004. US 5564159 A, 15.10.1996. 

Имя заявителя: Российская Федерация, от имени которой выступает Министерство обороны Российской Федерации (RU),
Федеральное Государственное Унитарное Предприятие "Центральный научно-исследовательский радиотехнический институт имени академика А.И. Берга" (RU) 
Изобретатели: Кузьминых Александр Сергеевич (RU)
Сверчков Виктор Филиппович (RU)
Фесенко Максим Владимирович (RU)
Хлопов Борис Васильевич (RU) 
Патентообладатели: Российская Федерация, от имени которой выступает Министерство обороны Российской Федерации (RU)
Федеральное Государственное Унитарное Предприятие "Центральный научно-исследовательский радиотехнический институт имени академика А.И. Берга" (RU) 

Реферат


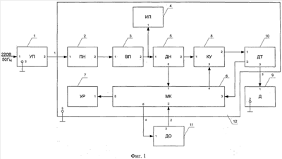
Устройство уничтожения информации с оптических и магнитооптических дисков содержит: корпус, исполнительный механизм, устройство подключения, блок управления и датчик оптический. Исполнительный механизм содержит приводную валик-шестерню, соединенную с электродвигателем, две ведомые шестерни, коромысло, два рабочих валика, второй резцедержатель с резцами, стол, один или более тормозов дисков и силовую коническую пружину. Стол имеет центральное отверстие, диаметр которого равен или больше наружного диаметра втулки, закрепленной на днище нижней части корпуса, и центральным отверстием одет на втулку. На днище нижней части корпуса и соосно его оси основанием закреплена силовая коническая пружина, верхний конец которой упирается в нижнюю поверхность стола, и эта часть корпуса используется в качестве системы сбора пыли и стружки. Блок управления содержит преобразователь напряжения, выключатель питания, индикатор питания, делитель напряжения, микроконтроллер, устройство регистрации, датчик тока и ключ управляемый. Технический результат - возможность уничтожения дисков с информацией во время хранения, повышение надежности уничтожения и категории секретности информации, защита от несанкционированного доступа к ней и регистрация количества уничтоженных дисков. 2 з.п. ф-лы, 3 ил.

Дирекция сайта "Промышленная Сибирь"
Россия, г.Омск, ул.Учебная, 199-Б, к.408А
Сайт открыт 01.11.2000
© 2000-2018 Промышленная Сибирь
Разработка дизайна сайта:
Дизайн-студия "RayStudio"