Промышленная Сибирь Ярмарка Сибири Промышленность СФО Электронные торги НОУ-ХАУ Электронные магазины Карта сайта
 
 

Поиск патентов

Как искать?
Реферат
Название
Публикация
Регистрационный номер
Имя заявителя
Имя изобретателя
Имя патентообладателя

    





Оформить заказ и задать интересующие Вас вопросы Вы можете напрямую c 6-00 до 14-30 по московскому времени кроме сб, вс. whatsapp 8-950-950-9888

На данной странице представлена ознакомительная часть выбранного Вами патента

Для получения более подробной информации о патенте (полное описание, формула изобретения и т.д.) Вам необходимо сделать заказ. Нажмите на «Корзину»


КАРТРИДЖ ДЛЯ ДИСКА

Номер публикации патента: 2432626

Вид документа: C2 
Страна публикации: RU 
Рег. номер заявки: 2009138921/28 
  Сделать заказПолучить полное описание патента

Редакция МПК: 
Основные коды МПК: G11B023/03    
Аналоги изобретения: JP 2006286133 А, 19.06.2006. ЕР 1734532 А1, 20.12.2006. JP 2004280933 А, 07.10.2004. RU 2282255 С2, 20.08.2006. 

Имя заявителя: СОНИ КОРПОРЕЙШН (JP) 
Изобретатели: КОБАЯСИ Даики (JP)
ВАТАНАБЕ Исао (JP)
АБЕ Ясуюки (JP) 
Патентообладатели: СОНИ КОРПОРЕЙШН (JP) 
Приоритетные данные: 22.02.2008 JP 2008-040782
22.02.2008 JP 2008-040793
26.02.2008 JP 2008-044063 

Реферат


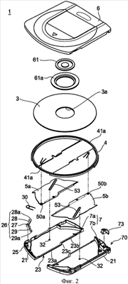
Предложен картридж для диска. Он содержит кожух, внутренний ротор, элементы заслонки, устройство буфера. В кожухе размещен с возможностью вращения дискообразный носитель записи, который сформирован с первым отверстием. Отверстие открывает часть дискообразного носителя записи. Внутренний ротор установлен с возможностью поворота внутри кожуха картриджа и включает в себя участок основной поверхности, сформированный со вторым отверстием, которое соответствует первому отверстию. Элементы заслонки, перемещающиеся между закрытым положением, в котором первое отверстие закрыто, и открытым положением, в котором первое отверстие открыто, в соответствии с поворотом внутреннего ротора. Устройство буфера сформировано на участке основной поверхности внутреннего ротора и включает в себя вращающиеся штифты, которые удерживают с возможностью вращения элементы заслонки, и упругие участки крепления, которые соответственно поддерживают вращающиеся штифты и могут упруго деформироваться относительно участка основной поверхности. Техническим результатом является повышение устойчивости к ударам при падении. 5 н. и 12 з.п. ф-лы, 23 ил.

Дирекция сайта "Промышленная Сибирь"
Россия, г.Омск, ул.Учебная, 199-Б, к.408А
Сайт открыт 01.11.2000
© 2000-2018 Промышленная Сибирь
Разработка дизайна сайта:
Дизайн-студия "RayStudio"