Промышленная Сибирь Ярмарка Сибири Промышленность СФО Электронные торги НОУ-ХАУ Электронные магазины Карта сайта
 
 

Поиск патентов

Как искать?
Реферат
Название
Публикация
Регистрационный номер
Имя заявителя
Имя изобретателя
Имя патентообладателя

    





Оформить заказ и задать интересующие Вас вопросы Вы можете напрямую c 6-00 до 14-30 по московскому времени кроме сб, вс. whatsapp 8-950-950-9888

На данной странице представлена ознакомительная часть выбранного Вами патента

Для получения более подробной информации о патенте (полное описание, формула изобретения и т.д.) Вам необходимо сделать заказ. Нажмите на «Корзину»


СПОСОБ И УСТРОЙСТВО ДЛЯ УПРАВЛЕНИЯ ФАЙЛАМИ ДАННЫХ, ХРАНЯЩИХСЯ В ЛОКАЛЬНОМ ЗАПОМИНАЮЩЕМ УСТРОЙСТВЕ

Номер публикации патента: 2385505

Вид документа: C2 
Страна публикации: RU 
Рег. номер заявки: 2007125131/28 
  Сделать заказПолучить полное описание патента

Редакция МПК: 
Основные коды МПК: G11B019/02    
Аналоги изобретения: JP 2002049518 А, 15.02.2002. US 2003163486 A1, 28.08.2003. US 6119116 A, 12.09.2000. JP 2004214918 A, 29.07.2004. 

Имя заявителя: ЭлДжи ЭЛЕКТРОНИКС ИНК. (KR) 
Изобретатели: СЕО Канг Соо (KR)
ЙОО Дзеа Йонг (KR)
КИМ Биунг Дзин (KR) 
Патентообладатели: ЭлДжи ЭЛЕКТРОНИКС ИНК. (KR) 
Приоритетные данные: 03.12.2004 US 60/632,645
09.06.2005 KR 10-2005-0049468 

Реферат


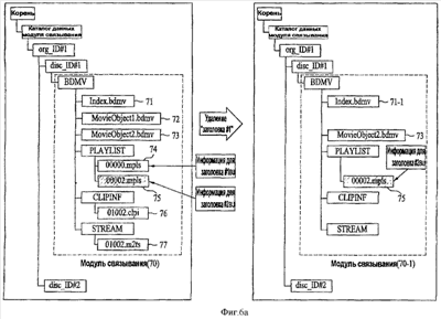
Способ управления файлами данных локального запоминающего устройства включает в себя этапы, на которых загружают, по меньшей мере, один файл данных от поставщика контента, сохраняют загруженный файл данных в локальном запоминающем устройстве и формируют блок связывания с использованием сохраненного файла. Блок связывания представляет собой набор файлов, имеющих информацию, ассоциированную с носителем записи. По приему команды на удаление конкретного файла, содержащегося в блоке связывания, удаляют все файлы, ассоциированные с тайтлом, включая этот конкретный файл, или удаляют только этот конкретный файл, который должен быть удален. Технический результат - эффективное управление файлами данных, хранящихся в локальном запоминающем устройстве в масштабе диска, масштабе тайтла или масштабе контента. 5 н. и 21 з.п. ф-лы, 7 ил.

Дирекция сайта "Промышленная Сибирь"
Россия, г.Омск, ул.Учебная, 199-Б, к.408А
Сайт открыт 01.11.2000
© 2000-2018 Промышленная Сибирь
Разработка дизайна сайта:
Дизайн-студия "RayStudio"