Промышленная Сибирь Ярмарка Сибири Промышленность СФО Электронные торги НОУ-ХАУ Электронные магазины Карта сайта
 
 

Поиск патентов

Как искать?
Реферат
Название
Публикация
Регистрационный номер
Имя заявителя
Имя изобретателя
Имя патентообладателя

    





Оформить заказ и задать интересующие Вас вопросы Вы можете напрямую c 6-00 до 14-30 по московскому времени кроме сб, вс. whatsapp 8-950-950-9888

На данной странице представлена ознакомительная часть выбранного Вами патента

Для получения более подробной информации о патенте (полное описание, формула изобретения и т.д.) Вам необходимо сделать заказ. Нажмите на «Корзину»


СПОСОБ И УСТРОЙСТВО ДЛЯ ПОДДЕРЖКИ ВОСПРИНИМАЕМОСТИ РЕЧИ В МНОГОКАНАЛЬНОМ ЗВУКОВОМ СОПРОВОЖДЕНИИ С МИНИМАЛЬНЫМ ВЛИЯНИЕМ НА СИСТЕМУ ОБЪЕМНОГО ЗВУЧАНИЯ

Номер публикации патента: 2467406

Вид документа: C2 
Страна публикации: RU 
Рег. номер заявки: 2010146924/08 
  Сделать заказПолучить полное описание патента

Редакция МПК: 
Основные коды МПК: G10L021/02   H04S003/00    
Аналоги изобретения: WO 2008/031611 A1, 20.03.2008. WO 03/022003 A2, 13.03.2003. EP 0637011 A1, 01.02.1995. WO 2007/120453 A1, 25.10.2007. US 2004/0042626 A1, 04.03.2004. JP 2003-084790 A, 19.03.2003. EP 0645756 A1, 29.03.1995. RU 2163032 C2, 10.02.2001. 

Имя заявителя: ДОЛБИ ЛЭБОРЕТЕРИЗ ЛАЙСЕНСИНГ КОРПОРЕЙШН (US) 
Изобретатели: МЮШ Ханнес (US) 
Патентообладатели: ДОЛБИ ЛЭБОРЕТЕРИЗ ЛАЙСЕНСИНГ КОРПОРЕЙШН (US) 
Приоритетные данные: 18.04.2008 US 61/046,271 

Реферат


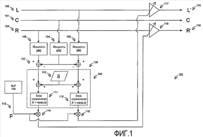
Изобретение относится к обработке звуковых сигналов, в частности, к улучшению четкости диалога и устной речи, например, в объемном развлекательном звуковом сопровождении. Техническим результатом является улучшение воспринимаемости речи. Указанный результат достигается тем, что обрабатывают многоканальный звуковой сигнал для формирования первой характеристики и второй характеристики, обрабатывают первый канал для формирования значения вероятности речи. Первая характеристика соответствует первому измеренному показателю, который зависит от уровня сигнала в первом канале многоканального звукового сигнала, содержащем речевой и неречевой звуки. Вторая характеристика соответствует второму измеренному показателю, который зависит от уровня сигнала во втором канале многоканального звукового сигнала, содержащем, преимущественно, неречевой звук. Далее сравнивают первую и вторую характеристики многоканального звукового сигнала для формирования коэффициента ослабления, при этом определяют разность между первым измеренным показателем и вторым измеренным показателем, и вычисляют коэффициент ослабления на основании полученной разности и пороговой величины. Затем корректируют коэффициент ослабления в соответствии со значением вероятности речи и ослабляют второй канал с использованием скорректированного коэффициента ослабления. 4 н. и 8 з.п. ф-лы, 5 ил.

Дирекция сайта "Промышленная Сибирь"
Россия, г.Омск, ул.Учебная, 199-Б, к.408А
Сайт открыт 01.11.2000
© 2000-2018 Промышленная Сибирь
Разработка дизайна сайта:
Дизайн-студия "RayStudio"