Промышленная Сибирь Ярмарка Сибири Промышленность СФО Электронные торги НОУ-ХАУ Электронные магазины Карта сайта
 
 

Поиск патентов

Как искать?
Реферат
Название
Публикация
Регистрационный номер
Имя заявителя
Имя изобретателя
Имя патентообладателя

    





Оформить заказ и задать интересующие Вас вопросы Вы можете напрямую c 6-00 до 14-30 по московскому времени кроме сб, вс. whatsapp 8-950-950-9888

На данной странице представлена ознакомительная часть выбранного Вами патента

Для получения более подробной информации о патенте (полное описание, формула изобретения и т.д.) Вам необходимо сделать заказ. Нажмите на «Корзину»


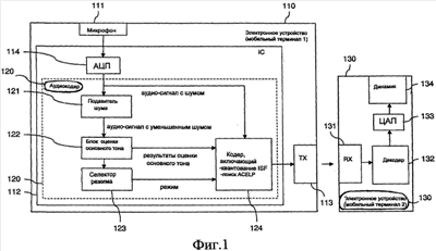
КОДИРОВАНИЕ АУДИОСИГНАЛА

Номер публикации патента: 2428748

Вид документа: C2 
Страна публикации: RU 
Рег. номер заявки: 2009133417/09 
  Сделать заказПолучить полное описание патента

Редакция МПК: 
Основные коды МПК: G10L019/14    
Аналоги изобретения: US 6475345 B2, 05.11.2002. WO 99/10719 A1, 04.03.1999. RU 2004127121 A, 20.02.2006. EP 0627725 A3, 30.05.1994. US 5787387 A, 28.07.1998. RU 2107951 C1, 27.03.1998. 

Имя заявителя: Нокиа Корпорейшн (FI) 
Изобретатели: РЯМЁ Ансси (FI)
ЛААКСОНЕН Лассе (FI)
ВАСИЛАКЕ Адриана (FI) 
Патентообладатели: Нокиа Корпорейшн (FI) 
Приоритетные данные: 13.02.2007 US 11/706,134 

Реферат


Изобретение относится к кодированию аудиосигнала, более конкретно к способу, устройствам, системе и машиночитаемому носителю, поддерживающим такое кодирование. При кодировании аудиосигнала к исходному аудиосигналу применяют подавление шума с получением аудиосигнала с уменьшенным шумом, причем применяют к упомянутому аудиосигналу с уменьшенным шумом анализ параметров. Режим кодирования выбирают на основании результатов упомянутого анализа параметров. Затем исходный аудиосигнал кодируют с использованием выбранного режима кодирования. Технический результат - достижение кодирования аудиосигнала высокого качества с переменной битовой скоростью. 6 н. и 13 з.п. ф-лы, 3 ил.

Дирекция сайта "Промышленная Сибирь"
Россия, г.Омск, ул.Учебная, 199-Б, к.408А
Сайт открыт 01.11.2000
© 2000-2018 Промышленная Сибирь
Разработка дизайна сайта:
Дизайн-студия "RayStudio"