|
На данной странице представлена ознакомительная часть выбранного Вами патента
Для получения более подробной информации о патенте (полное описание, формула изобретения и т.д.) Вам необходимо сделать заказ. Нажмите на «Корзину»
| РЕЧЕВОЙ КОДЕР С ЛИНЕЙНЫМ ПРЕДСКАЗАНИЕМ И ИСПОЛЬЗОВАНИЕМ АНАЛИЗА ЧЕРЕЗ СИНТЕЗ |  |
Номер публикации патента: 2163399 |  |
| Редакция МПК: | 7 | | Основные коды МПК: | G10L019/04 | | Аналоги изобретения: | PETER KROON et al. A class of analysis - by - synthesis predictive at rates between 4.8 and 16 kbits/s. "IEEE Joournal on Selected areas in communications", Febryary, 1988, vol. 6, N 2, с. 353 - 363. SU 329557 A, 05.06.1972. SU 838706 A, 15.06.1981. SU 788151 A, 18.12.1980. SU 517041 A, 25.10.1977. US 4932061 A, 05.06.1990. US 4980916 A, 25.12.1990. US 5195168 A, 16.03.1993. WO 88/02165 A1, 24.03.1988. |
| Имя заявителя: | Телефонактиеболагет ЛМ Эрикссон (SE) | | Изобретатели: | МИНДЕ Тор Бьерн (SE) МУСТЕЛЬ Петер (SE) | | Патентообладатели: | Телефонактиеболагет ЛМ Эрикссон (SE) | | Номер конвенционной заявки: | 9501026-0 | | Страна приоритета: | SE | | Патентный поверенный: | Поликарпов Александр Викторович |
Реферат |  |
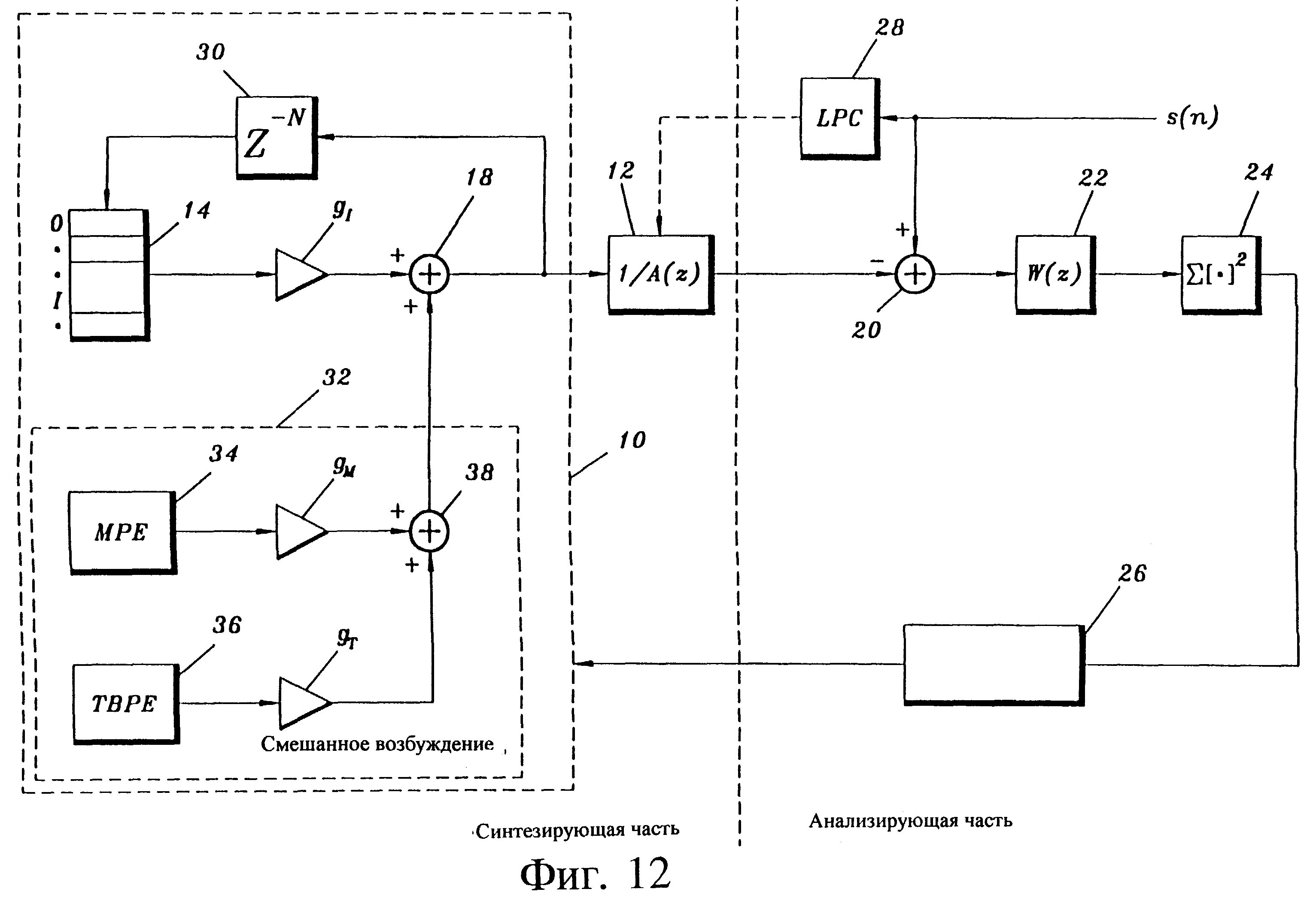
Изобретение относится к речевым кодерам и может использоваться в сотовых системах радиосвязи. Техническим результатом является повышение качества и упрощение поиска, а также повышение устойчивости в условиях радиосвязи с подвижными объектами. Для этого синтезирующая часть изобретения содержит адаптивный кодовый словарь, средства генерации возбуждения преобразованными двоичными импульсами и средства объединения многоимпульсного возбуждения, возбуждения преобразованными двоичными импульсами и адаптивного возбуждения. 2 з.п. ф-лы, 12 ил.
|