Промышленная Сибирь Ярмарка Сибири Промышленность СФО Электронные торги НОУ-ХАУ Электронные магазины Карта сайта
 
 

Поиск патентов

Как искать?
Реферат
Название
Публикация
Регистрационный номер
Имя заявителя
Имя изобретателя
Имя патентообладателя

    





Оформить заказ и задать интересующие Вас вопросы Вы можете напрямую c 6-00 до 14-30 по московскому времени кроме сб, вс. whatsapp 8-950-950-9888

На данной странице представлена ознакомительная часть выбранного Вами патента

Для получения более подробной информации о патенте (полное описание, формула изобретения и т.д.) Вам необходимо сделать заказ. Нажмите на «Корзину»


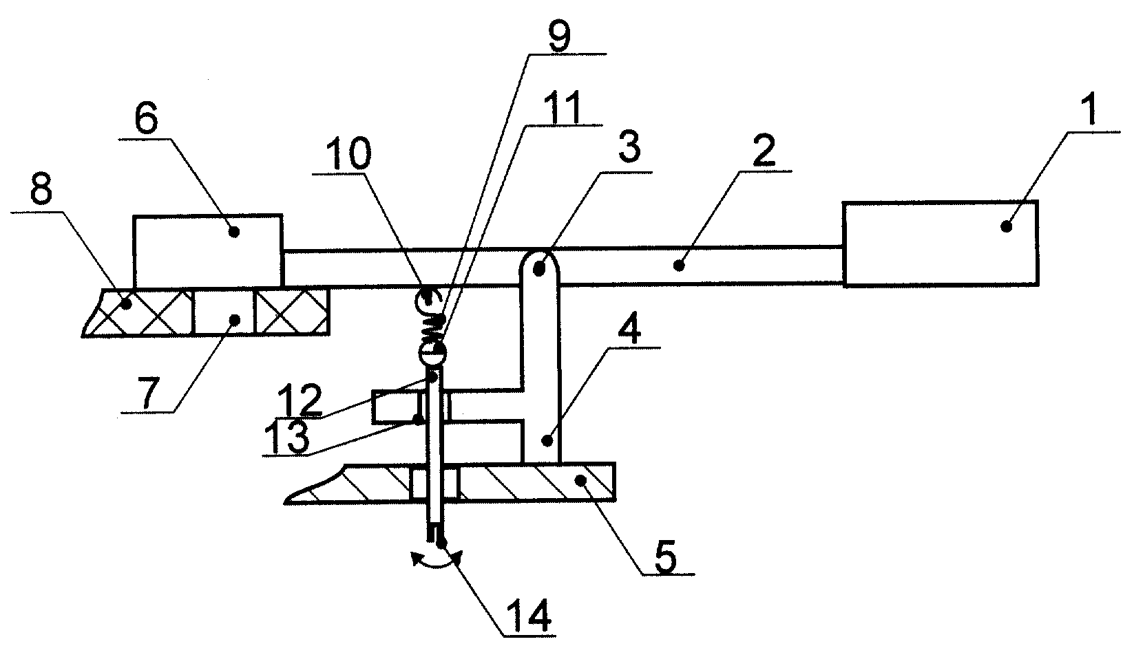
КЛАВИШНЫЙ МЕХАНИЗМ ЯЗЫЧКОВОГО ПНЕВМАТИЧЕСКОГО КЛАВИШНОГО МУЗЫКАЛЬНОГО ИНСТРУМЕНТА

Номер публикации патента: 2172984

Вид документа: C1 
Страна публикации: RU 
Рег. номер заявки: 2000130122/12 
  Сделать заказПолучить полное описание патента

Редакция МПК: 
Основные коды МПК: G10D011/00   G10D011/02    
Аналоги изобретения: РОЗЕНФЕЛЬД И.Г., ИВАНОВ М.А. ГАРМОНИ, БАЯНЫ, АККОРДЕОНЫ. - М., 1974, с.72-73. GB 1088515 A, 25.10.1967. US 5824927 A, 20.10.1998. FR 2094740 A, 04.02.1972. DE 3017956 A1, 12.11.1981. 

Имя заявителя: Кравцов Николай Александрович 
Изобретатели: Кравцов Н.А.
Дмитриев В.В. 
Патентообладатели: Кравцов Николай Александрович
Дмитриев Владимир Владимирович 

Реферат


Изобретение предназначено для упрощения процесса регулировки упругости клавиатуры клавишного механизма, для чего сопряжение пружины с опорным элементом выполнено посредством винта, а головка винта соединена с концом пружины. 1 з.п. ф-лы, 1 ил.


Дирекция сайта "Промышленная Сибирь"
Россия, г.Омск, ул.Учебная, 199-Б, к.408А
Сайт открыт 01.11.2000
© 2000-2018 Промышленная Сибирь
Разработка дизайна сайта:
Дизайн-студия "RayStudio"