Промышленная Сибирь Ярмарка Сибири Промышленность СФО Электронные торги НОУ-ХАУ Электронные магазины Карта сайта
 
 

Поиск патентов

Как искать?
Реферат
Название
Публикация
Регистрационный номер
Имя заявителя
Имя изобретателя
Имя патентообладателя

    





Оформить заказ и задать интересующие Вас вопросы Вы можете напрямую c 6-00 до 14-30 по московскому времени кроме сб, вс. whatsapp 8-950-950-9888

На данной странице представлена ознакомительная часть выбранного Вами патента

Для получения более подробной информации о патенте (полное описание, формула изобретения и т.д.) Вам необходимо сделать заказ. Нажмите на «Корзину»


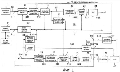
СХЕМА РЕГУЛИРОВАНИЯ ДИСПЛЕЯ ДЛЯ ПАНЕЛИ ОРГАНИЧЕСКОЙ ЭЛЕКТРОЛЮМИНЕСЦЕНЦИИ, СХЕМА РЕГУЛИРОВАНИЯ ДИСПЛЕЯ И УСТРОЙСТВО ДИСПЛЕЯ

Номер публикации патента: 2461075

Вид документа: C2 
Страна публикации: RU 
Рег. номер заявки: 2009139289/08 
  Сделать заказПолучить полное описание патента

Редакция МПК: 
Основные коды МПК: G09G003/30    
Аналоги изобретения: US 2005/0285828 А1, 29.12.2005. US 2005/0052369 А1, 10.03.2005. US 2007/0063962 А1, 22.03.2007. ЕР 1777693 А2, 25.04.2007. US 2006/0221008 А1, 05.10.2006. US 2003/0063053 А1, 03.04.2003. ЕР 1087366 А2, 28.03.2001. ЕР 1713055 А1, 18.10.2006. RU 2173508 C2, 10.09.2001. 

Имя заявителя: СОНИ КОРПОРЕЙШН (JP) 
Изобретатели: ИНОУЭ Ясуо (JP)
ИТО Масахиро (JP) 
Патентообладатели: СОНИ КОРПОРЕЙШН (JP) 
Приоритетные данные: 26.04.2007 JP 2007-116326 

Реферат


Изобретение относится к схеме регулирования дисплея по видеосигналу, подаваемому в панель органической электролюминесценции. Технический результат заключается в возможности более простого и точного детектирования состояния управления панелью органической электролюминесценции и выполнения различных регулировок и управления. Схема регулирования дисплея панели органической электролюминесценции содержит схему линейной гамма-характеристики для подачи видеосигнала, регулируемого с заданной гамма-характеристикой, для преобразования в видеосигнал с линейной гамма-характеристикой путем компенсации регулирования гамма-характеристики передаваемого видеосигнала и для вывода, схему регулирования для подачи видеосигнала, выводимого из схемы линейной гамма-характеристики, и схему гамма-характеристики панели, куда подают видеосигнал, из схемы регулирования для преобразования в видеосигнал с гамма-характеристикой, соответствующей гамма-характеристике панели органической электролюминесценции, и для вывода. При этом схема регулирования включает в себя модуль детектирования, предназначенный для детектирования состояния управления или предыстории управления панели органической электролюминесценции из подаваемого видеосигнала, модуль регулирования, предназначенный для выполнения регулирования видеосигнала, передаваемого в панель органической электролюминесценции, по выходу детектирования модуля детектирования. 3 н. и 16 з.п. ф-лы, 9 ил.

Дирекция сайта "Промышленная Сибирь"
Россия, г.Омск, ул.Учебная, 199-Б, к.408А
Сайт открыт 01.11.2000
© 2000-2018 Промышленная Сибирь
Разработка дизайна сайта:
Дизайн-студия "RayStudio"