|
На данной странице представлена ознакомительная часть выбранного Вами патента
Для получения более подробной информации о патенте (полное описание, формула изобретения и т.д.) Вам необходимо сделать заказ. Нажмите на «Корзину»
| НАГЛЯДНОЕ ПОСОБИЕ ПО МАТЕМАТИКЕ |  |
Номер публикации патента: 2166212 |  |
| Редакция МПК: | 7 | | Основные коды МПК: | G09B023/02 | | Аналоги изобретения: | SU 746695 A, 17.07.1980. GB 2163587 A, 26.02.1986. US 3858332 A, 07.01.1975. US 5281145 A, 25.01.1994. |
| Имя заявителя: | Открытое акционерное общество "Концерн Стирол" (UA) | | Изобретатели: | Ефремов Николай Федорович (UA) Ефремов Сергей Николаевич (UA) Ставицкая Анна Анатольевна (UA) | | Патентообладатели: | Открытое акционерное общество "Концерн Стирол" (UA) | | Номер конвенционной заявки: | 2000041844 | | Страна приоритета: | UA |
Реферат |  |
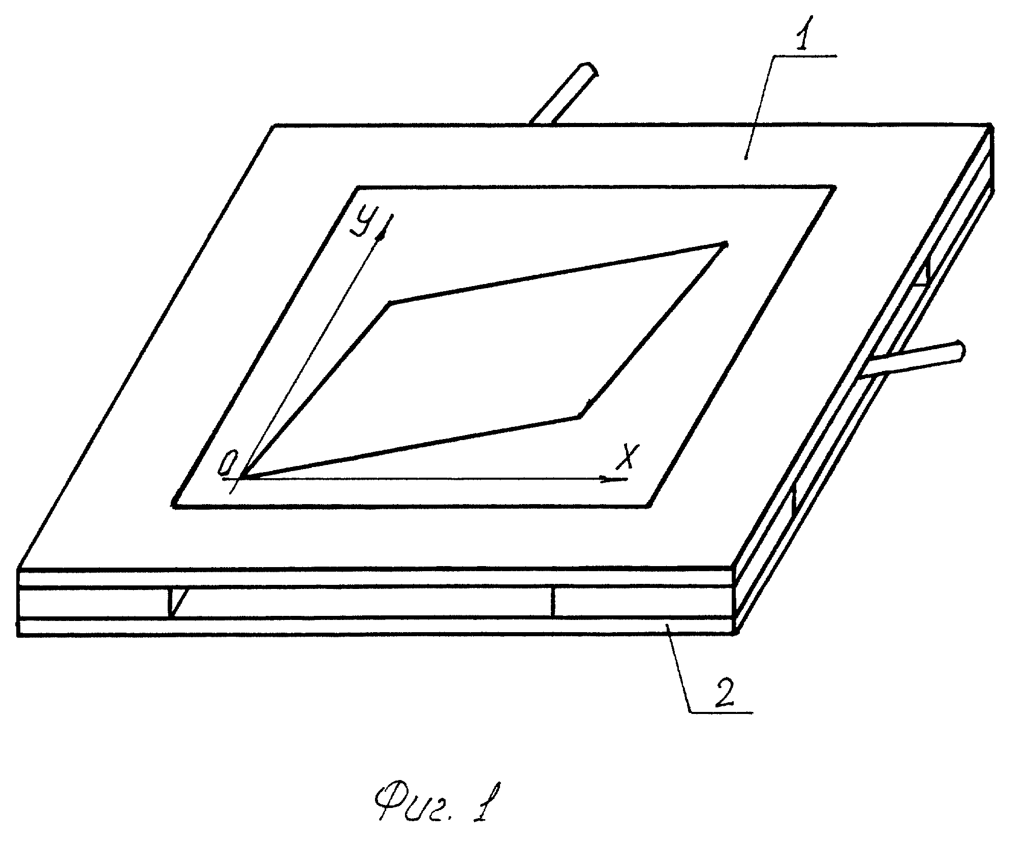
Наглядное пособие предназначено для использования в высших учебных заведениях в процессе обучения для иллюстрации геометрического смысла определителя второго порядка и позволяет повысить эффективность обучения. Передняя панель выполнена из прозрачного материала с нанесенной на ее поверхность декартовой системой координат. Задняя панель расположена параллельно передней. Расстояние между панелями фиксируется прокладками. Между панелями смонтированы с возможностью плоскопараллельных перемещений четыре пластины в форме полуплоскостей. Пластины своими прямыми границами образуют подвижное окно в виде параллелограмма с неизменной площадью. Пластины закреплены на задней панели и попарно соединены стержнями так, что узлы крепления и соединения каждой пары являются вершинами двух независимых шарнирных параллелограммов. Две смежные пластины, образующие острый угол окна-параллелограмма, с возможностью поворота в вершине этого угла закреплены на задней панели в точке, соответствующей началу координат. Две другие пластины с возможностью поворота закреплены на задней панели соответственно одна в точке пересечения ее прямой границы с осью ординат, вторая - в вершине тупого угла окна-параллелограмма. Каждая пара пластин снабжена поворотным рычагом, выходящим за пределы панелей через зазор между ними. Прокладки между панелями имеют Г-образную форму и выполнены с возможностью ограничения движения поворотных рычагов. Передняя панель содержит прозрачную зону обзора в форме прямоугольника со сторонами, параллельными границам панели, в пределах которого перемещается окно-параллелограмм. Непрозрачная часть передней панели и подвижные пластины имеют одинаковую окраску, которая отличается от цвета поверхности задней панели, просматриваемой через окно-параллелограмм. 3 з.п. ф-лы, 4 ил.
|