Промышленная Сибирь Ярмарка Сибири Промышленность СФО Электронные торги НОУ-ХАУ Электронные магазины Карта сайта
 
 

Поиск патентов

Как искать?
Реферат
Название
Публикация
Регистрационный номер
Имя заявителя
Имя изобретателя
Имя патентообладателя

    





Оформить заказ и задать интересующие Вас вопросы Вы можете напрямую c 6-00 до 14-30 по московскому времени кроме сб, вс. whatsapp 8-950-950-9888

На данной странице представлена ознакомительная часть выбранного Вами патента

Для получения более подробной информации о патенте (полное описание, формула изобретения и т.д.) Вам необходимо сделать заказ. Нажмите на «Корзину»


СПОСОБ ВЗАИМОДЕЙСТВИЯ АБОНЕНТОВ ЦИФРОВОЙ СИСТЕМЫ ТЕХНОЛОГИЧЕСКОЙ РАДИОСВЯЗИ ЖЕЛЕЗНОДОРОЖНОГО ТРАНСПОРТА

Номер публикации патента: 2378707

Вид документа: C1 
Страна публикации: RU 
Рег. номер заявки: 2008120313/09 
  Сделать заказПолучить полное описание патента

Редакция МПК: 
Основные коды МПК: G08G001/127   H04B007/26    
Аналоги изобретения: С.В.Осминина. GSM-R - от мечты к реальности. Обзор технологии GSM-R, перспективы внедрения, BKCC. Connect!, март 2007. RU 71843 U1, 20.03.2008. RU 2289208 C1, 10.12.2006. CN 101069364 A, 07.11.2007. 

Имя заявителя: Открытое акционерное общество "Российские железные дороги" (ОАО "РЖД") (RU) 
Изобретатели: Маневич Петр Юлианович (RU)
Слюняев Александр Николаевич (RU)
Климова Татьяна Викторовна (RU)
Алмазян Каринэ Кареновна (RU)
Вериго Александр Михайлович (RU)
Захаров Александр Викторович (RU) 
Патентообладатели: Открытое акционерное общество "Российские железные дороги" (ОАО "РЖД") (RU) 

Реферат


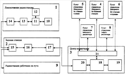
Изобретение относится к способам организации оперативно-технологической связи на железнодорожном транспорте. Технический результат заключается в интеграции систем технологической радиосвязи железнодорожного транспорта и расширении их функциональных возможностей. Он достигается тем, что предложен способ взаимодействия абонентов цифровой системы технологической радиосвязи железнодорожного транспорта, выполненной в виде программно-аппаратного комплекса системы радиосвязи, реализующий принципы формирования зон групповых и индивидуальных вызовов путем автоматического обновления в локомотивной станции списка доступных абонентов и групп абонентов в зависимости от того, в какой именно базовой станции системы в данный момент зарегистрирована локомотивная радиостанция, а также в соответствии с планом нумерации. Из базы данных в контроллер направляется таблица данных соответствия вида «номер базовой станции - таблица данных», соответствующая номеру базовой станции. При регистрации локомотивной радиостанции в другой базовой станции в контроллер из базы данных переносится другая таблица данных. В сервере приложений центра коммутации составляется таблица соответствия вида «номер поезда - номер локомотивной радиостанции, от которой получено сообщение с данным номером поезда», сервер приложений рассылает составленную таблицу во все подключенные через шлюзы центра коммутации пульты управления дежурных по станциям и диспетчеров. 11 з.п. ф-лы, 1 ил.

Дирекция сайта "Промышленная Сибирь"
Россия, г.Омск, ул.Учебная, 199-Б, к.408А
Сайт открыт 01.11.2000
© 2000-2018 Промышленная Сибирь
Разработка дизайна сайта:
Дизайн-студия "RayStudio"