Промышленная Сибирь Ярмарка Сибири Промышленность СФО Электронные торги НОУ-ХАУ Электронные магазины Карта сайта
 
 

Поиск патентов

Как искать?
Реферат
Название
Публикация
Регистрационный номер
Имя заявителя
Имя изобретателя
Имя патентообладателя

    





Оформить заказ и задать интересующие Вас вопросы Вы можете напрямую c 6-00 до 14-30 по московскому времени кроме сб, вс. whatsapp 8-950-950-9888

На данной странице представлена ознакомительная часть выбранного Вами патента

Для получения более подробной информации о патенте (полное описание, формула изобретения и т.д.) Вам необходимо сделать заказ. Нажмите на «Корзину»


ИДЕНТИФИКАТОР БУМАЖНЫХ ДЕНЕГ

Номер публикации патента: 2401458

Вид документа: C2 
Страна публикации: RU 
Рег. номер заявки: 2007109222/09 
  Сделать заказПолучить полное описание патента

Редакция МПК: 
Основные коды МПК: G07D007/12    
Аналоги изобретения: RU 2169393 C2, 10.02.2000. RU 35455 U1, 10.01.2004. DE 4438746 A1, 04.05.1995. CN 2842579 Y, 29.11.2006. GB 2361765 A, 31.10.2001. 

Имя заявителя: Интернэйшнал Карренси Текнолоджиз Корпорэйшн (TW) 
Изобретатели: Чянь Тянь-Юань (TW)
Чэнь Вэй мл. (TW)
Цай Хай-Энь (TW)
Цай Вэнь-Юань (TW)
Линь Чен-И (TW)
Ян Я-Хуэй (TW) 
Патентообладатели: Интернэйшнал Карренси Текнолоджиз Корпорэйшн (TW) 

Реферат


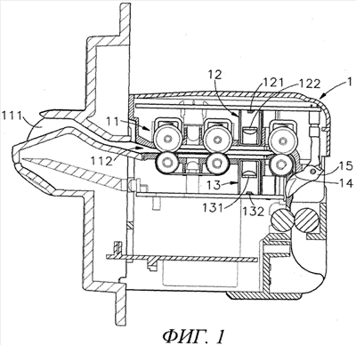
Изобретение относится к средствам проверки и идентификации бумажных денег для использования в торговом автомате или в машине для размена бумажных денег монетами. Техническим результатом является упрощение конструкции и повышение эксплуатационной надежности средств проверки. Средство идентификации включает подающий узел для продвижения банкноты через канал подачи, пакет СИД с светоизлучающими диодными чипами, расположенными над каналом подачи банкнот и настроенными на излучение интенсивного пульсирующего света различной длины волны, коллиматорную линзу для коллимирования светового излучения, проходящего от пакета СИД сквозь банкноту, фотодиод, расположенный под каналом подачи банкнот, для улавливания светового излучения, проходящего сквозь банкноту, для проверки подлинности банкноты, и конденсорную линзу для фокусирования света различной длины волны, проходящего сквозь банкноту на фотодиод. 2 н. и 25 з.п. ф-лы, 15 ил.

Дирекция сайта "Промышленная Сибирь"
Россия, г.Омск, ул.Учебная, 199-Б, к.408А
Сайт открыт 01.11.2000
© 2000-2018 Промышленная Сибирь
Разработка дизайна сайта:
Дизайн-студия "RayStudio"