Промышленная Сибирь Ярмарка Сибири Промышленность СФО Электронные торги НОУ-ХАУ Электронные магазины Карта сайта
 
 

Поиск патентов

Как искать?
Реферат
Название
Публикация
Регистрационный номер
Имя заявителя
Имя изобретателя
Имя патентообладателя

    





Оформить заказ и задать интересующие Вас вопросы Вы можете напрямую c 6-00 до 14-30 по московскому времени кроме сб, вс. whatsapp 8-950-950-9888

На данной странице представлена ознакомительная часть выбранного Вами патента

Для получения более подробной информации о патенте (полное описание, формула изобретения и т.д.) Вам необходимо сделать заказ. Нажмите на «Корзину»


СИСТЕМА ОПРЕДЕЛЕНИЯ СПОСОБНОСТИ ПРОГНОЗА ТОРМОЖЕНИЯ

Номер публикации патента: 2471241

Вид документа: C1 
Страна публикации: RU 
Рег. номер заявки: 2011125338/11 
  Сделать заказПолучить полное описание патента

Редакция МПК: 
Основные коды МПК: G07C005/08   B60T013/26   A61B005/18    
Аналоги изобретения: WO 2007139494 A1, 06.12.2007. WO 2007140232 A2, 06.12.2007. US 6092021 A, 18.07.2000. WO 2007139493 A1, 06.12.2007. US 20030191573 A1, 09.10.2003. SU 682993 A1, 30.08.1979. RU 94022029 A1, 27.06.1996. 

Имя заявителя: СКАНИА СВ АБ (пабл) (SE) 
Изобретатели: АНДЕРССОН Джонни (SE)
БРЕДБЕРГ Линус (SE)
АНДЕРССОН Йон (SE) 
Патентообладатели: СКАНИА СВ АБ (пабл) (SE) 
Приоритетные данные: 21.11.2008 SE 0850089-4 

Реферат


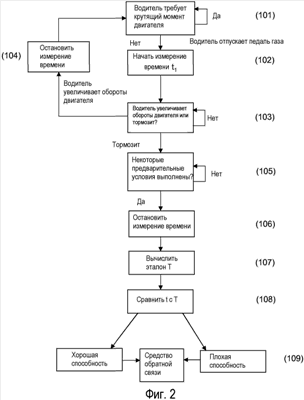
Изобретение относится к системам контроля и испытания тормозных систем и предназначено для определения способности прогноза торможения. Система определения прогноза торможения для транспортного средства содержит средства оценки для оценивания способности прогноза торможения у водителя. Способность прогноза торможения у водителя определяется в зависимости от сравнения времени t между действием по отпусканию педали газа и последующим действием торможения водителя и эталонного значения Т, представляющего параметр окружения транспортного средства и значение вспомогательного тормоза. Система предоставляет водителю обратную связь о предпочтительном действии торможения. Достигается определение способности торможения у водителя. 9 з.п. ф-лы, 2 ил.

Дирекция сайта "Промышленная Сибирь"
Россия, г.Омск, ул.Учебная, 199-Б, к.408А
Сайт открыт 01.11.2000
© 2000-2018 Промышленная Сибирь
Разработка дизайна сайта:
Дизайн-студия "RayStudio"