|
На данной странице представлена ознакомительная часть выбранного Вами патента
Для получения более подробной информации о патенте (полное описание, формула изобретения и т.д.) Вам необходимо сделать заказ. Нажмите на «Корзину»
| УСТРОЙСТВО И СПОСОБ ОТОБРАЖЕНИЯ ВРЕМЕНИ ИСПОЛЬЗОВАНИЯ ПОДСВЕТКИ ДЛЯ ЖИДКОКРИСТАЛЛИЧЕСКОГО МОНИТОРА |  |
Номер публикации патента: 2163735 |  |
| Редакция МПК: | 7 | | Основные коды МПК: | G09G003/18 G07C003/10 | | Аналоги изобретения: | US 5333073 A, 26.07.1994. RU 93006512 A, 10.12.1996. US 5029986 A, 09.07.1991. US 5384577 A, 24.01.1995. EP 0730371 A, 04.09.1996. |
| Имя заявителя: | ЭЛ ДЖИ ЭЛЕКТРОНИКС ИНК. (KR) | | Изобретатели: | ДЗУН Ил-Дзин (KR) | | Патентообладатели: | ЭЛ ДЖИ ЭЛЕКТРОНИКС ИНК. (KR) | | Номер конвенционной заявки: | 4715/1998 | | Страна приоритета: | KR | | Патентный поверенный: | Егорова Галина Борисовна |
Реферат |  |
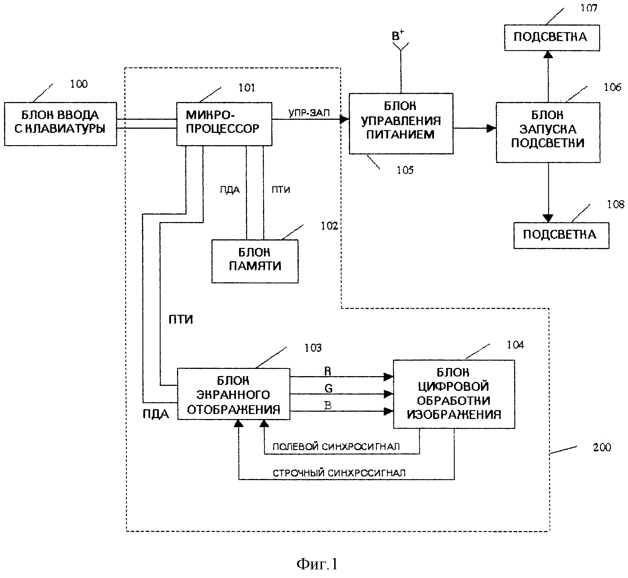
Изобретение относится к вычислительной технике и может быть использовано в вычислительных системах различного назначения для отображения времени потребления подсветки на дисплее. Техническим результатом является усовершенствование устройства и способа отображения времени потребления подсветки для монитора на жидкокристаллическом дисплее. Время потребления подсветки, хранящееся в блоке памяти, периодически сравнивается с предварительно установленным максимальным временем потребления подсветки. Сообщение, предписывающее замену подсветки, отображается на экране, когда истекшее время потребления подсветки превышает максимальное время потребления, и после замены подсветки время потребления подсветки, хранящееся в блоке памяти, переустанавливается с использованием клавиши сброса в блоке ввода с клавиатуры. Таймер микропроцессора приводится в действие при включении сигнала управления запуском подсветки, отсчитывается время потребления подсветки, предварительно установленное в блоке памяти, и отсчитанное значение запоминается в блоке памяти. 2 с. и 5 з.п.ф-лы, 2 ил.
|