Промышленная Сибирь Ярмарка Сибири Промышленность СФО Электронные торги НОУ-ХАУ Электронные магазины Карта сайта
 
 

Поиск патентов

Как искать?
Реферат
Название
Публикация
Регистрационный номер
Имя заявителя
Имя изобретателя
Имя патентообладателя

    





Оформить заказ и задать интересующие Вас вопросы Вы можете напрямую c 6-00 до 14-30 по московскому времени кроме сб, вс. whatsapp 8-950-950-9888

На данной странице представлена ознакомительная часть выбранного Вами патента

Для получения более подробной информации о патенте (полное описание, формула изобретения и т.д.) Вам необходимо сделать заказ. Нажмите на «Корзину»


ФИСКАЛЬНЫЙ ПРИНТЕР

Номер публикации патента: 2428743

Вид документа: C2 
Страна публикации: RU 
Рег. номер заявки: 2009144802/08 
  Сделать заказПолучить полное описание патента

Редакция МПК: 
Основные коды МПК: G07G001/00    
Аналоги изобретения: RU 2302660 C1, 10.07.2007. CN 201084229 Y, 09.07.2008. JP 2008242907 A, 09.10.2008. WO 99/66465 A1, 23.12.1999. 

Имя заявителя: СЕЙКО ЭПСОН КОРПОРЕЙШН (JP) 
Изобретатели: ВАСАМОТО Цуйоси (JP)
МУРАСАВА Такааки (JP)
ВАТАНАБЕ Тосиаки (JP) 
Патентообладатели: СЕЙКО ЭПСОН КОРПОРЕЙШН (JP) 
Приоритетные данные: 03.12.2008 JP 2008-308258 

Реферат


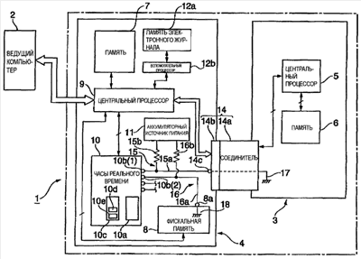
Изобретение относится к фискальному принтеру, имеющему функцию печати и запоминания, и хранения фискальной информации. Технический результат заключается в обеспечении высокой степени защиты путем надежного запоминания и хранения даты и времени, когда фискальная управляющая монтажная плата извлекается из принтера так, чтобы можно было надежно обнаружить ненадлежащие действия. Такой результат достигается за счет того, что фискальный принтер 1 имеет съемную фискальную управляющую монтажную плату 4, установленную на ней фискальную плату 8, часы 10 реального времени и цепь 15 обнаружения факта извлечения фискальной управляющей монтажной платы 4. Часы 10 реального времени содержат входную клемму 10b(1), на которую вводятся сигналы обнаружения от цепи 15, и запоминающее устройство 10с, которое при вводе сигнала об извлечении фискальной управляющей монтажной платы 4 запоминает данные об извлечении этой платы 4 и время, когда вводился сигнал обнаружения, при этом данные об извлечении и время ввода сигнала ассоциированы друг с другом. 5 з.п. ф-лы, 1 ил.

Дирекция сайта "Промышленная Сибирь"
Россия, г.Омск, ул.Учебная, 199-Б, к.408А
Сайт открыт 01.11.2000
© 2000-2018 Промышленная Сибирь
Разработка дизайна сайта:
Дизайн-студия "RayStudio"