Промышленная Сибирь Ярмарка Сибири Промышленность СФО Электронные торги НОУ-ХАУ Электронные магазины Карта сайта
 
 

Поиск патентов

Как искать?
Реферат
Название
Публикация
Регистрационный номер
Имя заявителя
Имя изобретателя
Имя патентообладателя

    





Оформить заказ и задать интересующие Вас вопросы Вы можете напрямую c 6-00 до 14-30 по московскому времени кроме сб, вс. whatsapp 8-950-950-9888

На данной странице представлена ознакомительная часть выбранного Вами патента

Для получения более подробной информации о патенте (полное описание, формула изобретения и т.д.) Вам необходимо сделать заказ. Нажмите на «Корзину»


СПОСОБ И УСТРОЙСТВО ГЕНЕРАЦИИ ИЗОБРАЖЕНИЯ, ПРОГРАММА ГЕНЕРАЦИИ ИЗОБРАЖЕНИЯ И МАШИНОЧИТАЕМЫЙ НОСИТЕЛЬ, ХРАНЯЩИЙ ПРОГРАММУ

Номер публикации патента: 2440615

Вид документа: C2 
Страна публикации: RU 
Рег. номер заявки: 2010113344/08 
  Сделать заказПолучить полное описание патента

Редакция МПК: 
Основные коды МПК: G06T003/00   G06T005/00    
Аналоги изобретения: RU 2267232 С1, 27.12.2005. US 5650814, 22.07.1997. JP 11102430 А, 13.04.1999. JP 11242737 А, 07.09.1999. WO 2004/057531 A1, 08.07.2004. US 6424752 В1, 23.07.2002. 

Имя заявителя: НИППОН ТЕЛЕГРАФ ЭНД ТЕЛЕФОН КОРПОРЕЙШН (JP) 
Изобретатели: КИМАТА Хидеаки (JP)
СИМИЗУ Синия (JP)
КАМИКУРА Казуто (JP)
ЯСИМА Йосиюки (JP) 
Патентообладатели: НИППОН ТЕЛЕГРАФ ЭНД ТЕЛЕФОН КОРПОРЕЙШН (JP) 
Приоритетные данные: 15.10.2007 JP 2007-267541 

Реферат


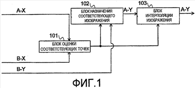
Изобретение относится к способам формирования изображения. Технический результат заключается в уменьшении деградации качества изображения. Оценивают наличие или отсутствие точки в первом цветовом сигнале X второго изображения В, соответствующей каждому положению пикселя первого цветового сигнала X первого изображения А, и также оценивают положение релевантной соответствующей точки. Для каждого оцененного положения пикселя в цветовом сигнале Y изображения А назначают информацию изображения соответствующего положения в цветовом сигнале Y второго изображения В. Генерируют цветовой сигнал Y в положении пикселя на изображении А, для которого была получена оценка об отсутствии соответствующей точки, посредством интерполяции изображения с использованием информации изображения цветового сигнала Y, назначенного пикселям, имеющим соответствующие точки. 3 н. и 4 з.п. ф-лы, 11 ил.

Дирекция сайта "Промышленная Сибирь"
Россия, г.Омск, ул.Учебная, 199-Б, к.408А
Сайт открыт 01.11.2000
© 2000-2018 Промышленная Сибирь
Разработка дизайна сайта:
Дизайн-студия "RayStudio"