Промышленная Сибирь Ярмарка Сибири Промышленность СФО Электронные торги НОУ-ХАУ Электронные магазины Карта сайта
 
 

Поиск патентов

Как искать?
Реферат
Название
Публикация
Регистрационный номер
Имя заявителя
Имя изобретателя
Имя патентообладателя

    





Оформить заказ и задать интересующие Вас вопросы Вы можете напрямую c 6-00 до 14-30 по московскому времени кроме сб, вс. whatsapp 8-950-950-9888

На данной странице представлена ознакомительная часть выбранного Вами патента

Для получения более подробной информации о патенте (полное описание, формула изобретения и т.д.) Вам необходимо сделать заказ. Нажмите на «Корзину»


ОБРАБОТКА ИЗОБРАЖЕНИЙ С ПОМОЩЬЮ ЛИНЕЙНЫХ ПАРАМЕТРОВ СВЕТОУСТАНОВКИ И ДРУГИХ УСОВЕРШЕНСТВОВАНИЙ ОБРАБОТКИ ИЗОБРАЖЕНИЙ

Номер публикации патента: 2402811

Вид документа: C2 
Страна публикации: RU 
Рег. номер заявки: 2007103160/08 
  Сделать заказПолучить полное описание патента

Редакция МПК: 
Основные коды МПК: G06K009/36   G06T003/20    
Аналоги изобретения: ЕР 0651577 А2, 03.05.1995. US 2002/0171759 A1, 21.11.2002. US 6370198 B1, 09.04.2002. US 6304733 A, 07.03.2000. US 4463372 A, 31.07.1994. US 5235432 A, 10.08.1993. SU 1474701 А2, 23.04.1989. 

Имя заявителя: МАЙКРОСОФТ КОРПОРЕЙШН (US) 
Изобретатели: МАНСИЛ Дональд Дж. (US)
ЭВАНС Гленн Ф. (US)
СПИРС Стейси Л. (US) 
Патентообладатели: МАЙКРОСОФТ КОРПОРЕЙШН (US) 
Приоритетные данные: 29.07.2004 US 10/902,325
30.07.2004 US PCT/US2004/024707
12.11.2004 US 10/987,378 

Реферат


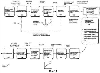
Изобретение относится к обработке информации изображений. Техническим результатом является уменьшение искажений изображения. Операции обработки включают в себя масштабирование, создание композитных изображений, альфа-сопряжение, выделение краев и т.д. В более конкретной реализации описываются стратегии для обработки информации изображений, которая: а) является линейной; b) находится в цветовом пространстве RGB; с) имеет высокую точность (к примеру, обеспечиваемую посредством представления с плавающей запятой); d) является построчной и е) является полноканальной. Другие усовершенствования предоставляют стратегии для: а) обработки информации изображений в псевдолинейном пространстве, чтобы повысить скорость обработки; b) реализации улучшенной методики дисперсии ошибок; с) динамического вычисления и применения ядер фильтрации; d) оптимизации генерирования конвейерного кода и е) реализации различных задач обработки с помощью новых методик пиксельного шейдера. 3 н. и 17 з.п. ф-лы, 21 ил.

Дирекция сайта "Промышленная Сибирь"
Россия, г.Омск, ул.Учебная, 199-Б, к.408А
Сайт открыт 01.11.2000
© 2000-2018 Промышленная Сибирь
Разработка дизайна сайта:
Дизайн-студия "RayStudio"