Промышленная Сибирь Ярмарка Сибири Промышленность СФО Электронные торги НОУ-ХАУ Электронные магазины Карта сайта
 
 

Поиск патентов

Как искать?
Реферат
Название
Публикация
Регистрационный номер
Имя заявителя
Имя изобретателя
Имя патентообладателя

    





Оформить заказ и задать интересующие Вас вопросы Вы можете напрямую c 6-00 до 14-30 по московскому времени кроме сб, вс. whatsapp 8-950-950-9888

На данной странице представлена ознакомительная часть выбранного Вами патента

Для получения более подробной информации о патенте (полное описание, формула изобретения и т.д.) Вам необходимо сделать заказ. Нажмите на «Корзину»


СПОСОБ ЗАКАЗА ТОВАРОВ И УСЛУГ И СИСТЕМА ДЛЯ ЕГО ОСУЩЕСТВЛЕНИЯ

Номер публикации патента: 2428741

Вид документа: C2 
Страна публикации: RU 
Рег. номер заявки: 2009142839/08 
  Сделать заказПолучить полное описание патента

Редакция МПК: 
Основные коды МПК: G06Q030/00    
Аналоги изобретения: RU 68151 U1, 10.11.2007. US 6578009 В1, 10.06.2003. WO 2008/119436 A1, 09.10.2008. RU 82351 U1, 20.04.2009. RU 2202392 C2, 20.04.2003. RU 2299469 C2, 20.05.2007. 

Имя заявителя: Литвиненко Михаил Владимирович (RU),
Усенко Евгений Дмитриевич (RU) 
Изобретатели: Литвиненко Михаил Владимирович (RU)
Усенко Евгений Дмитриевич (RU) 
Патентообладатели: Литвиненко Михаил Владимирович (RU)
Усенко Евгений Дмитриевич (RU) 

Реферат


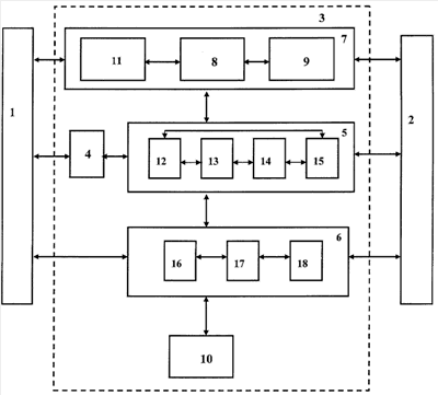
Изобретение относится к средствам предоставления товаров и услуг с использованием сетевых технологий. Техническим результатом является сокращение времени обработки данных с использованием сетевых техенологий. Способ заказа товаров и услуг заключается в идентификации клиента присвоением уникальных идентификационных кодов, товары и услуги заказывают с использованием информационных сетевых технологий согласно предложенному изобретению, товары и услуги заказывают в системе, содержащей терминал клиента и терминал поставщика товаров и услуг, связанные с центр-сервером, содержащим блок идентификации клиента для авторизации, хранения персональных данных, подсистему управления заказами, подсистему финансового учета, информационную подсистему, блок товарно-бухгалтерского учета, формируют базу данных клиента в блоке идентификации центр-сервера, в блоке идентификации клиента осуществляют выборку данных клиента для заказа товара или услуги и в подсистеме управления заказами формируют заказ путем выбора по заданным критериям, в подсистеме управления заказами формируют индивидуальную базу данных типовых заказов клиента, сигнал с подтверждением приема заказа передают терминалу клиента. 6 з.п. ф-лы, 1 ил., 2 табл.

Дирекция сайта "Промышленная Сибирь"
Россия, г.Омск, ул.Учебная, 199-Б, к.408А
Сайт открыт 01.11.2000
© 2000-2018 Промышленная Сибирь
Разработка дизайна сайта:
Дизайн-студия "RayStudio"