Промышленная Сибирь Ярмарка Сибири Промышленность СФО Электронные торги НОУ-ХАУ Электронные магазины Карта сайта
 
 

Поиск патентов

Как искать?
Реферат
Название
Публикация
Регистрационный номер
Имя заявителя
Имя изобретателя
Имя патентообладателя

    





Оформить заказ и задать интересующие Вас вопросы Вы можете напрямую c 6-00 до 14-30 по московскому времени кроме сб, вс. whatsapp 8-950-950-9888

На данной странице представлена ознакомительная часть выбранного Вами патента

Для получения более подробной информации о патенте (полное описание, формула изобретения и т.д.) Вам необходимо сделать заказ. Нажмите на «Корзину»


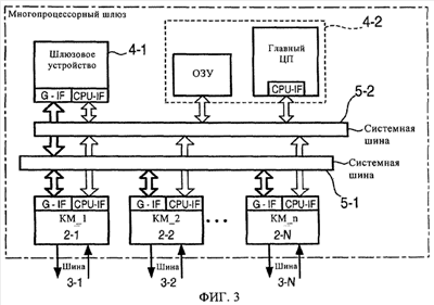
КОММУНИКАЦИОННЫЙ МОДУЛЬ

Номер публикации патента: 2454710

Вид документа: C2 
Страна публикации: RU 
Рег. номер заявки: 2008150630/08 
  Сделать заказПолучить полное описание патента

Редакция МПК: 
Основные коды МПК: G06F013/38   H04L012/46   H04L012/56    
Аналоги изобретения: US 2005/0138246 A1, 23.06.2005. US 2006/0041705 A1, 23.02.2006. Юдинцев В. Новейшие полупроводниковые приборы для автомобильных систем. Не стоим на месте движемся. - Электроника: НТБ, 2003, 7. 

Имя заявителя: РОБЕРТ БОШ ГМБХ (DE) 
Изобретатели: ИЛЕ Маркус (DE)
ТАУБЕ Ян (DE)
ЛОРЕНЦ Тобиас (DE) 
Патентообладатели: РОБЕРТ БОШ ГМБХ (DE) 
Приоритетные данные: 24.05.2006 DE 102006024889.9
24.11.2006 DE 102006055513.9 

Реферат


Изобретение относится к коммуникационному модулю для подключения последовательной шины. Технический результат заключается в обеспечении возможности нескольким управляющим модулям одновременно получать доступ к данным, сохраненным в запоминающем устройстве. Такой результат достигается за счет того, что коммуникационный модуль (2) для подключения последовательной шины (3), передающей данные пакетами, к нескольким системным шинам (5) многопроцессорного шлюза (1), передающим данные пословно, включает в себя подключенный к последовательной шине (3) блок (2с) коммуникационных протоколов для взаимного преобразования пакетов (DP) данных и сообщений (MSG), каждое из которых состоит из нескольких слов (DW) данных, блок (2d) пересылки сообщений для пересылки сообщений (MSG) между, по меньшей мере, одним устройством памяти (2е) сообщений и блоком (2с) коммуникационных протоколов, а также буферными запоминающими устройствами (2f, 2g), несколько интерфейсных блоков (2а, 2b), каждый из которых подключен к соответствующей системной шине (5-1, 5-2) многопроцессорного шлюза (1) и связан по меньшей мере с одним соответствующим ему буферным запоминающим устройством (2f, 2g), в котором временно сохраняется сообщение (MSG), причем передача слов (DW) данных из буферных запоминающих устройств (2f, 2g) интерфейсных блоков (2а, 2b) и в них организована по указанным нескольким системным шинам (5-1, 5-2) и через соответствующие им интерфейсные блоки (2а, 2b), причем каждая системная шина (5-1, 5-2) имеет соответствующее ведущее устройство (4-1, 4-2). 2 н. и 9 з.п. ф-лы, 5 ил.

Дирекция сайта "Промышленная Сибирь"
Россия, г.Омск, ул.Учебная, 199-Б, к.408А
Сайт открыт 01.11.2000
© 2000-2018 Промышленная Сибирь
Разработка дизайна сайта:
Дизайн-студия "RayStudio"