Промышленная Сибирь Ярмарка Сибири Промышленность СФО Электронные торги НОУ-ХАУ Электронные магазины Карта сайта
 
 

Поиск патентов

Как искать?
Реферат
Название
Публикация
Регистрационный номер
Имя заявителя
Имя изобретателя
Имя патентообладателя

    





Оформить заказ и задать интересующие Вас вопросы Вы можете напрямую c 6-00 до 14-30 по московскому времени кроме сб, вс. whatsapp 8-950-950-9888

На данной странице представлена ознакомительная часть выбранного Вами патента

Для получения более подробной информации о патенте (полное описание, формула изобретения и т.д.) Вам необходимо сделать заказ. Нажмите на «Корзину»


СПОСОБ СОХРАНЕНИЯ СЛИЯНИЯ ВИРТУАЛЬНОГО ПОРТА И МАТЕРИАЛЬНАЯ СРЕДА

Номер публикации патента: 2451991

Вид документа: C1 
Страна публикации: RU 
Рег. номер заявки: 2010143138/08 
  Сделать заказПолучить полное описание патента

Редакция МПК: 
Основные коды МПК: G06F012/08    
Аналоги изобретения: US 2008/002683 A1, 03.01.2008. US 6075938 A, 13.06.2000. US 2005/0198633 A1, 08.09.2005. RU 2006104061 A, 27.09.2007. 

Имя заявителя: ВиЭмВЕЭ, ИНК. (US) 
Изобретатели: ЛАМБЕТ Эндрю (US)
ЖУ Шудонг (US) 
Патентообладатели: ВиЭмВЕЭ, ИНК. (US) 
Приоритетные данные: 23.05.2008 US 12/126,777 

Реферат


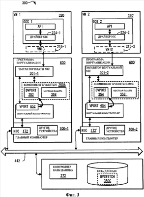
Изобретение относится к вычислительной технике, а именно к способам сохранения состояния виртуального порта в виртуальной компьютерной системе. Техническим результатом является обеспечение правильного соединения между виртуальной машиной и виртуальным портом виртуального коммутатора даже при перезапуске виртуальной машины. В способе сохранения состояния виртуального порта в виртуальной компьютерной системе происходит сохранение распределенного виртуального порта (DVport) в ячейке постоянной памяти, при этом DVport имеет заданное динамическое состояние и параметры конфигурации; сохранение связи между DVport и VNIC, для первого соединения между VNIC, соответствующего виртуальной машине, и виртуальным коммутатором, связанным с первым виртуальным портом; и извлечение состояния из порта DVport в новый второй виртуальный порт, используя динамическое состояние и установку конфигурации из ячейки постоянной памяти при перезапуске VM, соответствующей подключенной VNIC, восстановление состояния, позволяющее второму виртуальному порту установить второе соединение для передачи сетевых кадров между VNIC, соответствующему виртуальной машине, и виртуальному коммутатору, связанному с первым виртуальным портом, при этом второе соединение устанавливается по состоянию первого соединения. 3 н. и 20 з.п. ф-лы, 9 ил.

Дирекция сайта "Промышленная Сибирь"
Россия, г.Омск, ул.Учебная, 199-Б, к.408А
Сайт открыт 01.11.2000
© 2000-2018 Промышленная Сибирь
Разработка дизайна сайта:
Дизайн-студия "RayStudio"