Промышленная Сибирь Ярмарка Сибири Промышленность СФО Электронные торги НОУ-ХАУ Электронные магазины Карта сайта
 
 

Поиск патентов

Как искать?
Реферат
Название
Публикация
Регистрационный номер
Имя заявителя
Имя изобретателя
Имя патентообладателя

    





Оформить заказ и задать интересующие Вас вопросы Вы можете напрямую c 6-00 до 14-30 по московскому времени кроме сб, вс. whatsapp 8-950-950-9888

На данной странице представлена ознакомительная часть выбранного Вами патента

Для получения более подробной информации о патенте (полное описание, формула изобретения и т.д.) Вам необходимо сделать заказ. Нажмите на «Корзину»


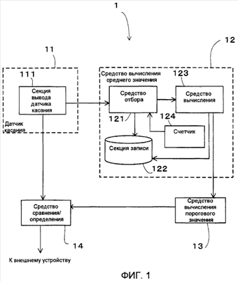
УСТРОЙСТВО ДАТЧИКА КАСАНИЯ, СПОСОБ УПРАВЛЕНИЯ, УСТРОЙСТВО СЕНСОРНОЙ ПАНЕЛИ И ПРОГРАММА

Номер публикации патента: 2461049

Вид документа: C2 
Страна публикации: RU 
Рег. номер заявки: 2010134004/08 
  Сделать заказПолучить полное описание патента

Редакция МПК: 
Основные коды МПК: G06F003/041    
Аналоги изобретения: JP 2007-072798 А, 22.03.2007. US 2003/0189552 A1, 09.10.2003. JP 08-022361 A, 23.01.1996. RU 2029353 C1, 20.02.1995. 

Имя заявителя: МИЦУБИСИ ДЗИДОСЯ КОГИО КАБУСИКИ КАЙСЯ (JP),
ВИСТЕОН ДЖАПАН, ЛТД. (JP) 
Изобретатели: ЯМАУТИ Казуто (JP)
МУРАЯМА Ясунори (JP)
ТАНАКА Садахико (JP)
ТАКИЗАВА Кейтаро (JP)
ЯМАНОУЭ Коуити (JP) 
Патентообладатели: МИЦУБИСИ ДЗИДОСЯ КОГИО КАБУСИКИ КАЙСЯ (JP)
ВИСТЕОН ДЖАПАН, ЛТД. (JP) 
Приоритетные данные: 16.01.2008 JP 2008-007422 

Реферат


Изобретение относится к устройству датчика касания, способу управления и устройству сенсорной панели. Техническим результатом является обеспечение малого числа ложных срабатываний устройства датчика касания. Устройство датчика касания содержит датчик касания; средство вычисления среднего значения для вычисления среднего значения выходных напряжений, посланных от секции вывода датчика касания; средство вычисления порогового значения для вычисления порогового значения на основе среднего значения и средство сравнения/определения для сравнения выходного напряжения с пороговым значением и, когда определено, что выходное напряжение превышает пороговое значение, выдачи сигнала определения, причем средство вычисления среднего значения содержит средство отбора для периодического отбора выходных напряжений и записи отобранных выходных напряжений в качестве данных выходного напряжения в секцию записи, и средство вычисления для вычисления плавающего среднего значения выходных напряжений, записанных в секции записи, и отправки вычисленного плавающего среднего значения средству вычисления порогового значения, и средство обнаружения падения напряжения включает в себя средство обнаружения для выдачи сигнала, указывающего падение в напряжении, когда обнаружено, что выходное напряжение упало, и средство стирания записанных данных для стирания данных выходного напряжения в секции записи в соответствии с сигналом, указывающим падение в напряжении. 4 н. и 2 з.п. ф-лы, 6 ил.

Дирекция сайта "Промышленная Сибирь"
Россия, г.Омск, ул.Учебная, 199-Б, к.408А
Сайт открыт 01.11.2000
© 2000-2018 Промышленная Сибирь
Разработка дизайна сайта:
Дизайн-студия "RayStudio"