Промышленная Сибирь Ярмарка Сибири Промышленность СФО Электронные торги НОУ-ХАУ Электронные магазины Карта сайта
 
 

Поиск патентов

Как искать?
Реферат
Название
Публикация
Регистрационный номер
Имя заявителя
Имя изобретателя
Имя патентообладателя

    





Оформить заказ и задать интересующие Вас вопросы Вы можете напрямую c 6-00 до 14-30 по московскому времени кроме сб, вс. whatsapp 8-950-950-9888

На данной странице представлена ознакомительная часть выбранного Вами патента

Для получения более подробной информации о патенте (полное описание, формула изобретения и т.д.) Вам необходимо сделать заказ. Нажмите на «Корзину»


БАЗОВАЯ СИСТЕМА ДЛЯ ДИСТАНЦИОННОГО МЕДИКО - САНИТАРНОГО УХОДА ЗА ПАЦИЕНТОМ С РАЗВЛЕКАТЕЛЬНЫМ КОМПОНЕНТОМ

Номер публикации патента: 2456667

Вид документа: C2 
Страна публикации: RU 
Рег. номер заявки: 2009103918/08 
  Сделать заказПолучить полное описание патента

Редакция МПК: 
Основные коды МПК: G06F019/00   G06Q050/22    
Аналоги изобретения: US 2003176218 A1, 18.09.2003. US 5918603 A, 06.07.1999. US 5007429 A, 16.04.1991. US 4550370 A, 29.10.1985. RU 2244506 C2, 20.01.2005. 

Имя заявителя: КОНИНКЛЕЙКЕ ФИЛИПС ЭЛЕКТРОНИКС, Н.В. (NL) 
Изобретатели: ВИШМАНН Ханс-алоис (DE)
ВАН ДЕР ВЕЙДЕ Елле (NL) 
Патентообладатели: КОНИНКЛЕЙКЕ ФИЛИПС ЭЛЕКТРОНИКС, Н.В. (NL) 
Приоритетные данные: 06.07.2006 US 60/806,644 

Реферат


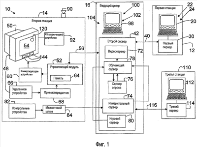
Изобретение относится к областям техники для медико-санитарного ухода. Технический результат заключается в повышении точности контроля за состоянием пациента (умственной деятельности или физических данных). Система медико-санитарного ухода содержит сервер для поддержания развлекательного контента, имеющего множество сеансов, включающих в себя интеллектуальные раздражители для по меньшей мере одного пациента, мониторинга умственной деятельности или физических данных этого пациента, сбора информации обратной связи, включающей в себя проконтролированную умственную деятельность и физические данные и указывающей соответствие этого пациента предписанному плану медико-санитарной помощи, и пользовательский интерфейс, выполненный с возможностью предоставления по меньшей мере одного из умственных и физических раздражителей посредством представления сеансов развлекательного контента упомянутому пациенту, причем доступ к данным сеансам развлекательного контента разрешается или блокируется на основе информации обратной связи, собранной от упомянутого пациента, при этом информация обратной связи указывает соответствие упомянутого пациента предписанному плану медико-санитарной помощи. 4 н. и 16 з.п. ф-лы, 2 ил.

Дирекция сайта "Промышленная Сибирь"
Россия, г.Омск, ул.Учебная, 199-Б, к.408А
Сайт открыт 01.11.2000
© 2000-2018 Промышленная Сибирь
Разработка дизайна сайта:
Дизайн-студия "RayStudio"