Промышленная Сибирь Ярмарка Сибири Промышленность СФО Электронные торги НОУ-ХАУ Электронные магазины Карта сайта
 
 

Поиск патентов

Как искать?
Реферат
Название
Публикация
Регистрационный номер
Имя заявителя
Имя изобретателя
Имя патентообладателя

    





Оформить заказ и задать интересующие Вас вопросы Вы можете напрямую c 6-00 до 14-30 по московскому времени кроме сб, вс. whatsapp 8-950-950-9888

На данной странице представлена ознакомительная часть выбранного Вами патента

Для получения более подробной информации о патенте (полное описание, формула изобретения и т.д.) Вам необходимо сделать заказ. Нажмите на «Корзину»


АДРЕСУЕМАЯ ЯЧЕЙКА ОДНОРОДНОЙ СТРУКТУРЫ ДЛЯ РЕШЕНИЯ ДИФФЕРЕНЦИАЛЬНЫХ УРАВНЕНИЙ В ЧАСТНЫХ ПРОИЗВОДНЫХ

Номер публикации патента: 2427033

Вид документа: C1 
Страна публикации: RU 
Рег. номер заявки: 2010107933/08 
  Сделать заказПолучить полное описание патента

Редакция МПК: 
Основные коды МПК: G06F017/13   G06F007/64    
Аналоги изобретения: RU 2359322 C1, 20.06.2009. RU 2242791 C2, 20.12.2004. SU 783811 A1, 30.11.1980. US 2002059160 A1, 16.05.2002. JP 2000020502 A, 21.01.2000. 

Имя заявителя: Государственное образовательное учреждение высшего профессионального образования "Томский политехнический университет" (RU) 
Изобретатели: Хамухин Александр Анатольевич (RU) 
Патентообладатели: Государственное образовательное учреждение высшего профессионального образования "Томский политехнический университет" (RU) 

Реферат


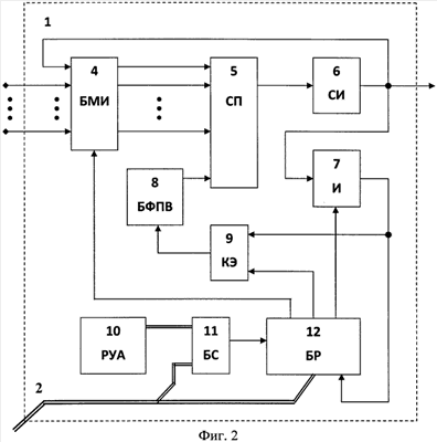
Изобретение относится к области цифровой вычислительной техники и предназначено для разработки и конструирования специализированных устройств для решения дифференциальных уравнений, содержащих частные производные по пространственным и временным координатам, а также для решения систем линейных алгебраических уравнений. Техническим результатом является увеличение количества совместно работающих ячеек без изменения схемы коммутации. Адресуемая ячейка однородной структуры содержит интегратор, блок масштабных интеграторов, сумматор приращений, следящий интегратор, ключевой элемент, блок формирования приращений от искомой переменной с предыдущих шагов по времени, регистр уникального адреса ячейки, блок совпадения и блок распределения. 2 ил.

Дирекция сайта "Промышленная Сибирь"
Россия, г.Омск, ул.Учебная, 199-Б, к.408А
Сайт открыт 01.11.2000
© 2000-2018 Промышленная Сибирь
Разработка дизайна сайта:
Дизайн-студия "RayStudio"