Промышленная Сибирь Ярмарка Сибири Промышленность СФО Электронные торги НОУ-ХАУ Электронные магазины Карта сайта
 
 

Поиск патентов

Как искать?
Реферат
Название
Публикация
Регистрационный номер
Имя заявителя
Имя изобретателя
Имя патентообладателя

    





Оформить заказ и задать интересующие Вас вопросы Вы можете напрямую c 6-00 до 14-30 по московскому времени кроме сб, вс. whatsapp 8-950-950-9888

На данной странице представлена ознакомительная часть выбранного Вами патента

Для получения более подробной информации о патенте (полное описание, формула изобретения и т.д.) Вам необходимо сделать заказ. Нажмите на «Корзину»


АВТОМАТИЧЕСКАЯ СИСТЕМА ПОДПИСКИ НА ПРИЛОЖЕНИЯ И УСЛУГИ, ПРЕДОСТАВЛЯЕМЫЕ БЕСПРОВОДНЫМ УСТРОЙСТВАМ

Номер публикации патента: 2368001

Вид документа: C2 
Страна публикации: RU 
Рег. номер заявки: 2005131584/09 
  Сделать заказПолучить полное описание патента

Редакция МПК: 
Основные коды МПК: G06F015/16    
Аналоги изобретения: RU 2165679 С1, 20.04.2001. RU 2191482 С1, 20.10.2002. US 2001039517 А, 08.11.2001. US 2003/0033209 А1, 13.02.2003. 

Имя заявителя: КВЭЛКОММ ИНКОРПОРЕЙТЕД (US) 
Изобретатели: ЮЙ Джули (US)
ХОРЕЛ Джералд (CA)
ПАТВАРИ Джайтиртх (US)
КЛЕЙН Мишель (US)
ОЛИВЕР Митчелл Б. (US) 
Патентообладатели: КВЭЛКОММ ИНКОРПОРЕЙТЕД (US) 
Приоритетные данные: 12.03.2003 US 10/388,063 

Реферат


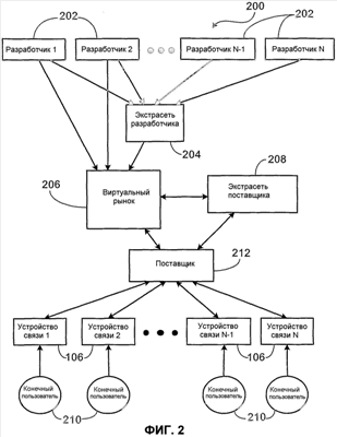
Изобретение относится к системам и способам, которые автоматически создают подписку на приложения и услуги, предоставляемые беспроводному устройству с другого компьютерного устройства в беспроводной сети, где подписка требует периодической оплаты ради непрерывного доступа к приложению или услуге. Техническим результатом является расширение функциональных возможностей за счет предоставления дополнительных услуг и автоматического формирования счетов подписки. Система контролирует взаимодействие конечного пользователя беспроводного устройства с другими компьютерными устройствами, такими как серверы загрузки приложений, через беспроводную сеть. Когда конечный пользователь получает приложение или услугу от компьютерного устройства, система автоматически регистрирует подписку и может либо выставлять счет подписчику беспроводного устройства за подписку, либо передавать поставщику или другому объекту, чтобы выставить счет подписчику. 6 н. и 35 з.п. ф-лы, 11 ил.

Дирекция сайта "Промышленная Сибирь"
Россия, г.Омск, ул.Учебная, 199-Б, к.408А
Сайт открыт 01.11.2000
© 2000-2018 Промышленная Сибирь
Разработка дизайна сайта:
Дизайн-студия "RayStudio"