Промышленная Сибирь Ярмарка Сибири Промышленность СФО Электронные торги НОУ-ХАУ Электронные магазины Карта сайта
 
 

Поиск патентов

Как искать?
Реферат
Название
Публикация
Регистрационный номер
Имя заявителя
Имя изобретателя
Имя патентообладателя

    





Оформить заказ и задать интересующие Вас вопросы Вы можете напрямую c 6-00 до 14-30 по московскому времени кроме сб, вс. whatsapp 8-950-950-9888

На данной странице представлена ознакомительная часть выбранного Вами патента

Для получения более подробной информации о патенте (полное описание, формула изобретения и т.д.) Вам необходимо сделать заказ. Нажмите на «Корзину»


ОПТИЧЕСКИЙ НАНОУСИЛИТЕЛЬ

Номер публикации патента: 2423733

Вид документа: C1 
Страна публикации: RU 
Рег. номер заявки: 2010106541/28 
  Сделать заказПолучить полное описание патента

Редакция МПК: 
Основные коды МПК: G06E003/00    
Аналоги изобретения: RU 2324210 C1, 10.05.2008. RU 2177165 С1, 20.12.2001. RU 2115156 C1, 10.07.1998. WO 9515625 A1, 08.06.1995. 

Имя заявителя: Каменский Владислав Валерьевич (RU),
Соколов Сергей Викторович (RU) 
Изобретатели: Каменский Владислав Валерьевич (RU)
Соколов Сергей Викторович (RU) 
Патентообладатели: Каменский Владислав Валерьевич (RU)
Соколов Сергей Викторович (RU) 

Реферат


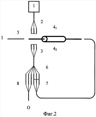
Изобретение относится к средствам вычислительной техники и может быть использовано в оптических устройствах обработки информации при разработке и создании оптических вычислительных машин и приемопередающих устройств. Устройство содержит источник постоянного оптического сигнала, оптического нановолоконный Q-выходной разветвитель, оптический Q-входной нановолоконный объединитель, две телескопические нанотрубки, входное оптическое нановолокно, оптический нановолоконный Р-выходной разветвитель, оптический М-входной нановолоконный объединитель обратной связи. Технический результат - упрощение устройства и реализация его в наноразмерном исполнении. 1 з.п. ф-лы, 2 ил.

Дирекция сайта "Промышленная Сибирь"
Россия, г.Омск, ул.Учебная, 199-Б, к.408А
Сайт открыт 01.11.2000
© 2000-2018 Промышленная Сибирь
Разработка дизайна сайта:
Дизайн-студия "RayStudio"