Промышленная Сибирь Ярмарка Сибири Промышленность СФО Электронные торги НОУ-ХАУ Электронные магазины Карта сайта
 
 

Поиск патентов

Как искать?
Реферат
Название
Публикация
Регистрационный номер
Имя заявителя
Имя изобретателя
Имя патентообладателя

    





Оформить заказ и задать интересующие Вас вопросы Вы можете напрямую c 6-00 до 14-30 по московскому времени кроме сб, вс. whatsapp 8-950-950-9888

На данной странице представлена ознакомительная часть выбранного Вами патента

Для получения более подробной информации о патенте (полное описание, формула изобретения и т.д.) Вам необходимо сделать заказ. Нажмите на «Корзину»


СПОСОБ И СИСТЕМА ДЛЯ РЕГУЛИРОВАНИЯ ПЛОТНОСТИ ПРОДУКТА

Номер публикации патента: 2371750

Вид документа: C2 
Страна публикации: RU 
Рег. номер заявки: 2005112558/13 
  Сделать заказПолучить полное описание патента

Редакция МПК: 
Основные коды МПК: G05D011/06   A23L001/24    
Аналоги изобретения: ЕР 0574051 A1, 15.12.1993. US 2002/090437 A1, 11.07.2002. US 2002/176917, 28.11.2002. GB 1157111 A, 02.08.1969. 

Имя заявителя: КРАФТ ФУДЗ ХОЛДИНГС, ИНК. (US) 
Изобретатели: ШВИММЕР Уилльям Г. (US)
ТОПИНКА Джон Б. (US)
ХАРТЛИЕП Барбара Б. (US) 
Патентообладатели: КРАФТ ФУДЗ ХОЛДИНГС, ИНК. (US) 
Приоритетные данные: 29.12.2004 US 11/023,498 

Реферат


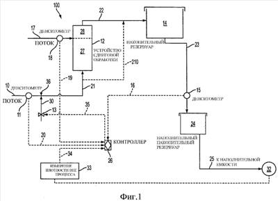
Измерение плотности пищевого аэрированного продукта во время его изготовления осуществляется на аэрированном продукте, в месте по существу после узла сдвиговой обработки, используемого для образования аэрированного материала, причем достаточно далеко от этого узла, чтобы продукт находился в уравновешенном состоянии. После этого может устанавливаться скорость введения аэрационного газа в месте перед узлом сдвиговой обработки для устранения разницы между заданной и измеренной плотностями продукта. Кроме того, может использоваться инжектирование газа с пониженной растворимостью с тем, чтобы плотность продукта могла быстрее достичь равновесия. Возмущения плотности исходного материала рецептуры выше по ходу также могут отслеживаться и компенсироваться посредством регулировок скорости потока газа, чтобы содействовать поддержанию желаемой плотности продукта. Способ и система для регулирования до заданного уровня плотности пищевого аэрированного продукта во время его изготовления обеспечивают надежный мониторинг плотности изготавливаемого продукта. 4 н. и 16 з.п. ф-лы, 8 ил., 2 табл.

Дирекция сайта "Промышленная Сибирь"
Россия, г.Омск, ул.Учебная, 199-Б, к.408А
Сайт открыт 01.11.2000
© 2000-2018 Промышленная Сибирь
Разработка дизайна сайта:
Дизайн-студия "RayStudio"