Промышленная Сибирь Ярмарка Сибири Промышленность СФО Электронные торги НОУ-ХАУ Электронные магазины Карта сайта
 
 

Поиск патентов

Как искать?
Реферат
Название
Публикация
Регистрационный номер
Имя заявителя
Имя изобретателя
Имя патентообладателя

    





Оформить заказ и задать интересующие Вас вопросы Вы можете напрямую c 6-00 до 14-30 по московскому времени кроме сб, вс. whatsapp 8-950-950-9888

На данной странице представлена ознакомительная часть выбранного Вами патента

Для получения более подробной информации о патенте (полное описание, формула изобретения и т.д.) Вам необходимо сделать заказ. Нажмите на «Корзину»


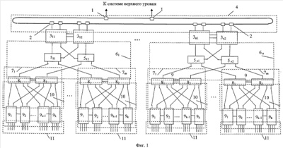
КОМПЛЕКС РЕЗЕРВИРУЕМЫХ ПРОГРАММНО - АППАРАТНЫХ СРЕДСТВ АВТОМАТИЗАЦИИ КОНТРОЛЯ И УПРАВЛЕНИЯ

Номер публикации патента: 2431174

Вид документа: C1 
Страна публикации: RU 
Рег. номер заявки: 2010134775/08 
  Сделать заказПолучить полное описание патента

Редакция МПК: 
Основные коды МПК: G05B019/418    
Аналоги изобретения: Каталог компоненты для комплексной автоматизации продукции фирмы SIEMENS, SIMATIC, 2007, стр.24-25. RU 24740 U1, 20.08.2002. RU 96221 U1, 20.07.2010. DE 10309886 A1, 18.09.2003. 

Имя заявителя: Федеральное государственное унитарное предприятие "Всероссийский научно-исследовательский институт автоматики им. Н.Л. Духова" (ФГУП "ВНИИА") (RU) 
Изобретатели: Кишкин Владимир Львович (RU)
Нариц Александр Дмитриевич (RU)
Борисов Станислав Борисович (RU)
Новиков Александр Александрович (RU)
Моисеев Михаил Иванович (RU)
Карпов Пётр Сергеевич (RU)
Белова Татьяна Николаевна (RU)
Борзенко Андрей Александрович (RU) 
Патентообладатели: Федеральное государственное унитарное предприятие "Всероссийский научно-исследовательский институт автоматики им. Н.Л. Духова" (ФГУП "ВНИИА") (RU) 

Реферат


Изобретение относится к автоматике и вычислительной технике. Техническим результатом является повышение надежности, быстрое переключение на резервное оборудование, освобождение вычислительных ресурсов от задач управления резервированием. Он достигается тем, что в комплексе средств автоматизации процессоры автоматизации подключены к системной шине EN, выполненной на базе интерфейса Ethernet в виде кольцевой структуры последовательно соединенных сетевых коммутаторов, каждый из двух резервируемых процессоров автоматизации подключен к сетевым коммутаторам шины EN по двум каналам, по одному каналу к одному коммутатору, а по другому каналу к другому коммутатору резервируемые процессоры автоматизации соединены друг с другом по отдельным последовательным интерфейсам и снабжены средствами управления горячим резервированием, станции ввода/вывода выполнены резервированными, содержащими резервируемые СП-модули, попарно связанные по сигнальным линиям связи, снабженные средствами управления горячим резервированием, и по два резервируемых интерфейсных модуля, связанных друг с другом по отдельным последовательным интерфейсам со средствами управления горячим резервированием, резервируемые процессоры автоматизации соединены с интерфейсными модулями станций ввода/вывода по резервированной шине ENL, выполненной на базе Industrial Ethernet с радиальной топологией связи. 3 ил.

Дирекция сайта "Промышленная Сибирь"
Россия, г.Омск, ул.Учебная, 199-Б, к.408А
Сайт открыт 01.11.2000
© 2000-2018 Промышленная Сибирь
Разработка дизайна сайта:
Дизайн-студия "RayStudio"