Промышленная Сибирь Ярмарка Сибири Промышленность СФО Электронные торги НОУ-ХАУ Электронные магазины Карта сайта
 
 

Поиск патентов

Как искать?
Реферат
Название
Публикация
Регистрационный номер
Имя заявителя
Имя изобретателя
Имя патентообладателя

    





Оформить заказ и задать интересующие Вас вопросы Вы можете напрямую c 6-00 до 14-30 по московскому времени кроме сб, вс. whatsapp 8-950-950-9888

На данной странице представлена ознакомительная часть выбранного Вами патента

Для получения более подробной информации о патенте (полное описание, формула изобретения и т.д.) Вам необходимо сделать заказ. Нажмите на «Корзину»


АВТОМАТИЗИРОВАННАЯ ГАЗОДИЗЕЛЬНАЯ ГЕНЕРАТОРНАЯ УСТАНОВКА С КОМБИНИРОВАННОЙ ПОДАЧЕЙ ТОПЛИВ

Номер публикации патента: 2465472

Вид документа: C2 
Страна публикации: RU 
Рег. номер заявки: 2010134351/06 
  Сделать заказПолучить полное описание патента

Редакция МПК: 
Основные коды МПК: F02B045/10   F02D019/08   G05B015/00    
Аналоги изобретения: Транспорт на альтернативном топливе, 3, 2008, с.73-78. RU 2257482 C2, 27.07.2005. SU 1268769 A1, 07.11.1986. US 5229946 A, 20.07.1998. JP 8144807 A, 04.06.1996. JP 2008095593 A, 04.06.1996. 

Имя заявителя: Общество с ограниченной ответственностью "А.Д.Д. Сервис" (RU) 
Изобретатели: Высоцкий Александр Васильевич (RU)
Норкин Владислав Игоревич (RU)
Высоцкий Владимир Васильевич (RU)
Туркин Владимир Леонидович (RU)
Сахненко Виктор Иванович (RU) 
Патентообладатели: Общество с ограниченной ответственностью "А.Д.Д. Сервис" (RU) 

Реферат


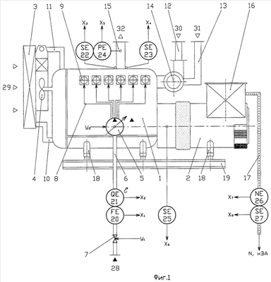
Изобретение относится к двигателестроению, в частности к управлению газодизель-генераторными установками (ГДГУ) с комбинированными разнофазными режимами подачи топлив. Автоматизированная ГДГУ содержит газодизель (1), генератор (2), регулятор мощности (36), исполнительные механизмы, турбокомпрессоры (43, 44), персональный компьютер (53), микропроцессорный регулирующий контроллер (54), датчики: давления (47) и расхода газа (48), расхода жидкого топлива (20) и воздуха, оборотов (25) вала газодизеля, амплитуды и частоты вибрации (22, 23), частоты (27) и мощности (26), вырабатываемой генератором, давления выхлопных газов (24), диэлькометры (21, 49, 50, 51). Структура автоматизации выполнена в виде распределенно-интегрированной системы управления, дополненной персональным компьютером (53). Персональный компьютер (53) соединен с микропроцессорным регулирующим контроллером (54) по параллельным информационным каналам. В микропроцессорном контроллере (54) запрограммированы блоки дифференцирования (55, 56) и регулирующий блок (57). В зависимости от вибрации блоки дифференцирования (55, 56) вырабатывают управляющее воздействие на выходной сигнал регулирующего блока (57). Выходной сигнал с регулирующего блока (57) направляется к приводам топливного насоса (5) и регулятора мощности (36). Технический результат заключается в создании оптимального соотношения топлива, исключающего детонацию. 6 ил., 2 табл.

Дирекция сайта "Промышленная Сибирь"
Россия, г.Омск, ул.Учебная, 199-Б, к.408А
Сайт открыт 01.11.2000
© 2000-2018 Промышленная Сибирь
Разработка дизайна сайта:
Дизайн-студия "RayStudio"