Промышленная Сибирь Ярмарка Сибири Промышленность СФО Электронные торги НОУ-ХАУ Электронные магазины Карта сайта
 
 

Поиск патентов

Как искать?
Реферат
Название
Публикация
Регистрационный номер
Имя заявителя
Имя изобретателя
Имя патентообладателя

    





Оформить заказ и задать интересующие Вас вопросы Вы можете напрямую c 6-00 до 14-30 по московскому времени кроме сб, вс. whatsapp 8-950-950-9888

На данной странице представлена ознакомительная часть выбранного Вами патента

Для получения более подробной информации о патенте (полное описание, формула изобретения и т.д.) Вам необходимо сделать заказ. Нажмите на «Корзину»


ПОДСВЕТКА ЖИДКОКРИСТАЛЛИЧЕСКОГО ДИСПЛЕЯ

Номер публикации патента: 2460105

Вид документа: C2 
Страна публикации: RU 
Рег. номер заявки: 2010145108/07 
  Сделать заказПолучить полное описание патента

Редакция МПК: 
Основные коды МПК: G02F001/13357   F21S004/00    
Аналоги изобретения: ЕР 1515083 А1, 16.03.2005. RU 2306587 C1, 20.09.2007. RU 65615 U1, 10.08.2007. RU 49177 U1, 10.11.2005. RU 43334 U1, 10.01.2005. US 2006/0146512 А1, 06.07.2006. US 2007/0053171 A1, 08.03.2007. US 2006/0018130 A1, 26.01.2006. 

Имя заявителя: ШАРП КАБУСИКИ КАЙСЯ (JP) 
Изобретатели: ТАКЕБА Мицухиро (JP) 
Патентообладатели: ШАРП КАБУСИКИ КАЙСЯ (JP) 
Приоритетные данные: 04.04.2008 JP 2008-097821 

Реферат


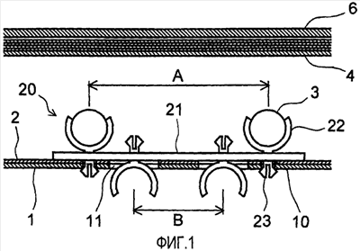
Изобретение относится к подсветке жидкокристаллического дисплейного устройства. Технический результат - обеспечение подсветки жидкокристаллического дисплейного устройства, которое сконструировано таким образом в ответ на потребности в креплении прямых трубчатых ламп источника света с различными интервалами для держателей ламп одного типа. Достигается тем, что лампы источника света могут крепиться с различными интервалами с помощью одного вида держателя лампы. Прямая трубчатая лампа (3) источника света, расположенная на поверхности монтажной панели (1) подсветки, крепится с помощью держателя (20) лампы, установленного на монтажной панели (1) подсветки. Держатель (20) лампы включает в себя основание (21), установленное на поверхности монтажной панели подсветки (1), зажимы (22) ламп, установленные на противоположных поверхностях основания (21), и крепежный элемент (23). На обоих поверхностях основания (21) формируется совокупность зажимов (22) ламп с соответствующими интервалами, отличающимися друг от друга. Крепежное отверстие (10), соединяющееся с крепежным элементом (23) на поверхности держателя (20) лампы, не относящимся к креплению лампы и к сквозному отверстию (11) для прохождения зажима (22) лампы на указанной поверхности, устанавливают в монтажной панели (1) подсветки. 5 з.п. ф-лы, 15 ил.

Дирекция сайта "Промышленная Сибирь"
Россия, г.Омск, ул.Учебная, 199-Б, к.408А
Сайт открыт 01.11.2000
© 2000-2018 Промышленная Сибирь
Разработка дизайна сайта:
Дизайн-студия "RayStudio"