Промышленная Сибирь Ярмарка Сибири Промышленность СФО Электронные торги НОУ-ХАУ Электронные магазины Карта сайта
 
 

Поиск патентов

Как искать?
Реферат
Название
Публикация
Регистрационный номер
Имя заявителя
Имя изобретателя
Имя патентообладателя

    





Оформить заказ и задать интересующие Вас вопросы Вы можете напрямую c 6-00 до 14-30 по московскому времени кроме сб, вс. whatsapp 8-950-950-9888

На данной странице представлена ознакомительная часть выбранного Вами патента

Для получения более подробной информации о патенте (полное описание, формула изобретения и т.д.) Вам необходимо сделать заказ. Нажмите на «Корзину»


ДИСПЛЕЙНОЕ УСТРОЙСТВО И ТЕЛЕВИЗИОННЫЙ ПРИЕМНИК

Номер публикации патента: 2449334

Вид документа: C1 
Страна публикации: RU 
Рег. номер заявки: 2010140902/28 
  Сделать заказПолучить полное описание патента

Редакция МПК: 
Основные коды МПК: G02F001/133    
Аналоги изобретения: JP 2001-331144 А1, 30.11.2001. JP 07-147196 А1, 06.06.1995. RU 2005129957 А1, 10.04.2007. SU 972460 А, 07.11.1982. 

Имя заявителя: ШАРП КАБУСИКИ КАЙСЯ (JP) 
Изобретатели: ТАКАТА Йосики (JP) 
Патентообладатели: ШАРП КАБУСИКИ КАЙСЯ (JP) 
Приоритетные данные: 09.04.2008 JP 2008-101733 

Реферат


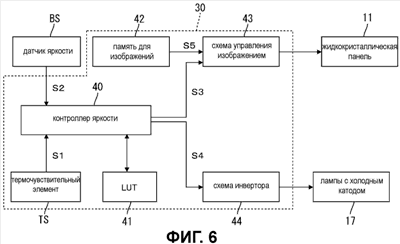
Дисплейное устройство 10 данного изобретения включает в себя панель 10 отображения, флуоресцентную лампу 17, контроллер 40 яркости и термочувствительный элемент TS. Панель 10 отображения имеет функцию отображения серой шкалы. Флуоресцентная лампа 17 излучает свет по направлению к панели 10 отображения. Контроллер 40 яркости управляет яркостью отображения посредством регулировки серой шкалы панели 10 отображения и светового излучения флуоресцентной лампы 17. Термочувствительный элемент TS измеряет температуру дисплейного устройства 10. Контроллер 40 яркости выбирает способ управления яркостью из регулировки серой шкалы панели отображения, регулировки излучения флуоресцентной лампы 17 и комбинации обоих на основе температуры дисплейного устройства 10, измеренной термочувствительным элементом TS. 2 н. и 8 з.п. ф-лы, 24 ил.

Дирекция сайта "Промышленная Сибирь"
Россия, г.Омск, ул.Учебная, 199-Б, к.408А
Сайт открыт 01.11.2000
© 2000-2018 Промышленная Сибирь
Разработка дизайна сайта:
Дизайн-студия "RayStudio"