Промышленная Сибирь Ярмарка Сибири Промышленность СФО Электронные торги НОУ-ХАУ Электронные магазины Карта сайта
 
 

Поиск патентов

Как искать?
Реферат
Название
Публикация
Регистрационный номер
Имя заявителя
Имя изобретателя
Имя патентообладателя

    





Оформить заказ и задать интересующие Вас вопросы Вы можете напрямую c 6-00 до 14-30 по московскому времени кроме сб, вс. whatsapp 8-950-950-9888

На данной странице представлена ознакомительная часть выбранного Вами патента

Для получения более подробной информации о патенте (полное описание, формула изобретения и т.д.) Вам необходимо сделать заказ. Нажмите на «Корзину»


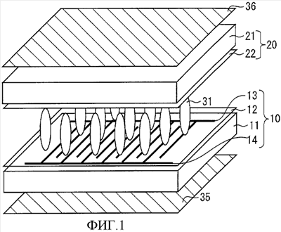
ЖИДКОКРИСТАЛЛИЧЕСКАЯ ПАНЕЛЬ И УСТРОЙСТВО ЖИДКОКРИСТАЛЛИЧЕСКОГО ДИСПЛЕЯ

Номер публикации патента: 2444035

Вид документа: C1 
Страна публикации: RU 
Рег. номер заявки: 2011101357/28 
  Сделать заказПолучить полное описание патента

Редакция МПК: 
Основные коды МПК: G02F001/1343    
Аналоги изобретения: WO 99/32924 A1, 01.07.1999. JP 10186351 A, 14.07.1998. US 6181402 B1, 30.06.2001. SU 1531867 A3, 23.12.1989. 

Имя заявителя: ШАРП КАБУСИКИ КАЙСЯ (JP) 
Изобретатели: ИСИХАРА Соити (JP)
САКУРАЙ Такехиса (JP)
КОДЗАКИ Сюити (JP) 
Патентообладатели: ШАРП КАБУСИКИ КАЙСЯ (JP) 
Приоритетные данные: 18.06.2008 JP 2008-159390
19.02.2009 JP PCT/JP2009/052835
29.05.2009 JP 2009-131560 

Реферат


Изобретение обеспечивает используемую на практике жидкокристаллическую панель, которая позволяет одновременно достигать характеристик высокоскоростного отклика, широкого угла обзора и высокого контраста. Жидкокристаллическая панель (2) включает в себя: жидкокристаллический материал p-типа, расположенный между парой подложек (10 и 20), и гребенчатые электроды (13 и 14), предназначенные для приложения к жидкокристаллическому материалу p-типа электрического поля, параллельного поверхности подложки. Жидкокристаллический материал p-типа выровнен вертикально относительно поверхности подложки в то время, когда электрическое поле не приложено. Гребенчатые электроды (13 и 14) имеют ширину электрода 5 мкм или меньше и промежуток электродов 15 мкм или меньше. Произведение анизотропии диэлектрической постоянной и анизотропии коэффициента преломления жидкокристаллического материала p-типа составляет 1,3 или больше и 3,1 или меньше. 2 с. и 7 з.п. ф-лы, 21 ил.

Дирекция сайта "Промышленная Сибирь"
Россия, г.Омск, ул.Учебная, 199-Б, к.408А
Сайт открыт 01.11.2000
© 2000-2018 Промышленная Сибирь
Разработка дизайна сайта:
Дизайн-студия "RayStudio"