Промышленная Сибирь Ярмарка Сибири Промышленность СФО Электронные торги НОУ-ХАУ Электронные магазины Карта сайта
 
 

Поиск патентов

Как искать?
Реферат
Название
Публикация
Регистрационный номер
Имя заявителя
Имя изобретателя
Имя патентообладателя

    





Оформить заказ и задать интересующие Вас вопросы Вы можете напрямую c 6-00 до 14-30 по московскому времени кроме сб, вс. whatsapp 8-950-950-9888

На данной странице представлена ознакомительная часть выбранного Вами патента

Для получения более подробной информации о патенте (полное описание, формула изобретения и т.д.) Вам необходимо сделать заказ. Нажмите на «Корзину»


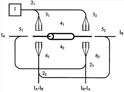
ОПТИЧЕСКОЕ ВЫЧИТАЮЩЕЕ НАНОУСТРОЙСТВО

Номер публикации патента: 2364906

Вид документа: C1 
Страна публикации: RU 
Рег. номер заявки: 2008114090/28 
  Сделать заказПолучить полное описание патента

Редакция МПК: 
Основные коды МПК: G02F007/00   B82B001/00    
Аналоги изобретения: RU 2310897 С2, 20.11.2007. RU 2311671 C1, 27.11.2007. RU 62609 U1, 27.04.2007. SU 1767534 A1, 07.10.1992. CN 101206281 A, 25.06.2008. 

Имя заявителя: Соколов Сергей Викторович (RU),
Каменский Владислав Валерьевич (RU) 
Изобретатели: Соколов Сергей Викторович (RU)
Каменский Владислав Валерьевич (RU) 
Патентообладатели: Соколов Сергей Викторович (RU)
Каменский Владислав Валерьевич (RU) 

Реферат


Предложенное изобретение относится к средствам вычислительной техники и может быть использовано в оптических устройствах обработки информации. Данное изобретение направлено на решение задачи вычитания как когерентных, так и некогерентных оптических сигналов с быстродействием, потенциально возможным для оптических процессорных схем, а также задачи наноразмерного исполнения устройства. Предложенное оптическое вычитающее наноустройство содержит входной оптический Y-разветвитель, источник постоянного оптического сигнала, два оптических нановолоконных N-выходных разветвителя, два выходных оптических нановолоконных Y-разветвителя, два входных оптических нановолоконных объединителя, два оптических N-входных нановолоконных объединителя, соответствующим образом оптически сопряженные между собой, и две телескопические нанотрубки - внутреннюю и внешнюю. 1 ил.

Дирекция сайта "Промышленная Сибирь"
Россия, г.Омск, ул.Учебная, 199-Б, к.408А
Сайт открыт 01.11.2000
© 2000-2018 Промышленная Сибирь
Разработка дизайна сайта:
Дизайн-студия "RayStudio"