|
На данной странице представлена ознакомительная часть выбранного Вами патента
Для получения более подробной информации о патенте (полное описание, формула изобретения и т.д.) Вам необходимо сделать заказ. Нажмите на «Корзину»
| УСТРОЙСТВО ДЛЯ КОНТРОЛЯ ТОЧНОСТИ СОВМЕЩЕНИЯ МАРКИ С ФОКАЛЬНОЙ ПЛОСКОСТЬЮ ОБЪЕКТИВА КОЛЛИМАТОРА |  |
Номер публикации патента: 2172973 |  |
| Редакция МПК: | 7 | | Основные коды МПК: | G02B027/62 | | Аналоги изобретения: | Бардин А.Н. Сборка и юстировка оптических приборов. - М.: Высшая школа, 1968, с. 54, 50, 49. Данилевич Ф.М. и др. Сборка и юстировка оптических контрольно-измерительных приборов. - Л.: Машиностроение, 1976, с. 32-33, 37-38, 48. RU 2078360 C1, 27.04.1997. RU 2018101 C1, 15.08.1994. RU 2159948 C1, 27.11.2000. EP 111635 A2, 27.06.1984. |
| Имя заявителя: | Открытое акционерное общество "Пеленг" (BY) | | Изобретатели: | Тареев Анатолий Михайлович (BY) | | Патентообладатели: | Открытое акционерное общество "Пеленг" (BY) | | Номер конвенционной заявки: | a 20000247 | | Страна приоритета: | BY |
Реферат |  |
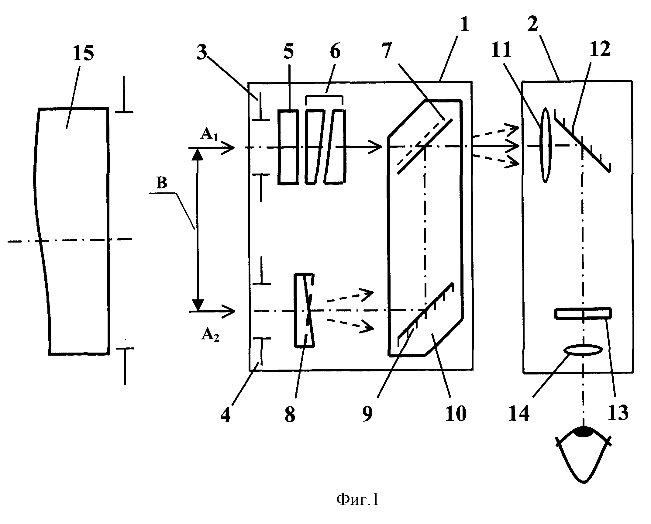
Изобретение относится к области контрольно-измерительной техники, а именно к устройствам для контроля точности совмещения марки с фокальной плоскостью объектива, преимущественно крупногабаритных коллиматоров. Устройство содержит оптически сопряженные анализатор параллельности лучей светового пучка и зрительную трубу. Анализатор параллельности светового пучка выполнен в виде оптического блока, включающего два параллельных канала. На оси первого канала расположены последовательно первая диафрагма, отклоняющее устройство с измерительным механизмом, компенсатор ошибок направления световых пучков и светоделительная пластина, составляющая угол 45° с осью первого канала. На оси второго канала расположены последовательно вторая диафрагма, разделительное устройство и плоское зеркало, параллельное светоделительной пластине и жестко связанное с ней. Расстояние между центрами первой и второй диафрагм равно расстоянию между плоским зеркалом и светоделительной пластиной вдоль оси второго канала, а разделительное устройство выполнено в виде двух клиновидных пластин, причем их главные сечения параллельны плоскости, содержащей оси первого и второго каналов, а вершины диаметрально противоположны. При этом граница раздела клиновидных пластин расположена на оси второго канала. Технический результат: устройство может использоваться как универсальное высокоточное переносное средство оперативного контроля точности совмещения марки с фокальной плоскостью объектива преимущественно крупногабаритных коллиматоров как в лабораторных, так и в цеховых условиях. 3 ил.
|