Промышленная Сибирь Ярмарка Сибири Промышленность СФО Электронные торги НОУ-ХАУ Электронные магазины Карта сайта
 
 

Поиск патентов

Как искать?
Реферат
Название
Публикация
Регистрационный номер
Имя заявителя
Имя изобретателя
Имя патентообладателя

    





Оформить заказ и задать интересующие Вас вопросы Вы можете напрямую c 6-00 до 14-30 по московскому времени кроме сб, вс. whatsapp 8-950-950-9888

На данной странице представлена ознакомительная часть выбранного Вами патента

Для получения более подробной информации о патенте (полное описание, формула изобретения и т.д.) Вам необходимо сделать заказ. Нажмите на «Корзину»


ЛАЗЕРНОЕ СКАНИРУЮЩЕЕ УСТРОЙСТВО

Номер публикации патента: 2369887

Вид документа: C1 
Страна публикации: RU 
Рег. номер заявки: 2008109119/28 
  Сделать заказПолучить полное описание патента

Редакция МПК: 
Основные коды МПК: G02B026/10    
Аналоги изобретения: RU 2205439 С2, 27.05.2003. SU 1788497 A1, 15.01.1993. RU 2260828 C1, 20.09.2005. SU 1597841 A1, 07.10.1990. EP 75063 A1, 30.03.1983. 

Имя заявителя: Институт Прикладной Механики Уральского отделения Российской Академии Наук (RU) 
Изобретатели: Калюжный Дмитрий Геннадьевич (RU) 
Патентообладатели: Институт Прикладной Механики Уральского отделения Российской Академии Наук (RU) 

Реферат


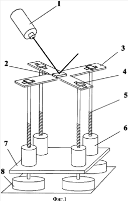
Изобретение относится к оптико-механическому приборостроению, в частности к устройствам для перемещения лазерного луча в пространстве, устройствам сканирования и слежения. Лазерное сканирующее устройство включает направленный источник излучения, установленный напротив зеркала, закрепленного на четырехлучевой крестовине, и систему управления зеркалом, собранные в корпусе, причем система отклонения луча дополнительно снабжена четырьмя направляющими стержнями, закрепленными по одному на каждой из четырех оконечностей крестовины. Каждый направляющий стержень соединен с крестовиной при помощи шарнира, имеющего четыре степени свободы. Направляющие стержни имеют на своей внешней поверхности винтовую нарезку, с помощью которой закреплены в неподвижных резьбовых втулках с аналогичной внутренней нарезкой и имеют возможность перемещаться возвратно-поступательно при вращении в ту или иную сторону. А в качестве управляющих элементов используются электродвигатели, вращающие направляющие стержни. Технический результат - повышение точности и изменение функциональных возможностей для получения сложных траекторий перемещения лазерного луча. 5 з.п. ф-лы, 3 ил.

Дирекция сайта "Промышленная Сибирь"
Россия, г.Омск, ул.Учебная, 199-Б, к.408А
Сайт открыт 01.11.2000
© 2000-2018 Промышленная Сибирь
Разработка дизайна сайта:
Дизайн-студия "RayStudio"