Промышленная Сибирь Ярмарка Сибири Промышленность СФО Электронные торги НОУ-ХАУ Электронные магазины Карта сайта
 
 

Поиск патентов

Как искать?
Реферат
Название
Публикация
Регистрационный номер
Имя заявителя
Имя изобретателя
Имя патентообладателя

    





Оформить заказ и задать интересующие Вас вопросы Вы можете напрямую c 6-00 до 14-30 по московскому времени кроме сб, вс. whatsapp 8-950-950-9888

На данной странице представлена ознакомительная часть выбранного Вами патента

Для получения более подробной информации о патенте (полное описание, формула изобретения и т.д.) Вам необходимо сделать заказ. Нажмите на «Корзину»


ОПТИЧЕСКАЯ СИСТЕМА

Номер публикации патента: 2431166

Вид документа: C1 
Страна публикации: RU 
Рег. номер заявки: 2010119987/28 
  Сделать заказПолучить полное описание патента

Редакция МПК: 
Основные коды МПК: G02B023/00   G02B015/14    
Аналоги изобретения: RU 2372576 С2, 10.11.2009. US 5259568 А, 09.11.1993. RU 2191971 С2, 27.10.2002. US 5664741 A, 09.09.1997. RU 2108531 C1, 10.04.1998. 

Имя заявителя: Открытое акционерное общество "Пеленг" (BY) 
Изобретатели: Кунделева Наталья Ефимовна (BY)
Тареев Анатолий Михайлович (BY)
Поконечный Здислав Иосифович (BY) 
Патентообладатели: Открытое акционерное общество "Пеленг" (BY) 
Приоритетные данные: 13.07.2009 BY a20091055 

Реферат


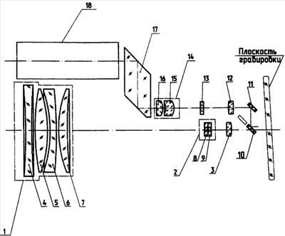
Система может использоваться в системах преобразования лазерного излучения приборов наведения. Система содержит панкратическую систему дальней зоны, первый компонент которой содержит неподвижный положительный мениск, обращенный вогнутой поверхностью к пространству предметов, и расположенные перед ним двояковогнутую, двояковыпуклую линзы и отрицательный мениск, обращенный выпуклой поверхностью к пространству предметов, второй - две двояковогнутые линзы, третий - двояковыпуклую линзу. Второй и третий компоненты установлены с возможностью перемещения. Система содержит панкратическую систему ближней зоны, связанную с телескопической системой первой парой параллельных отражателей. Панкратическая система ближней зоны параллельна панкратической системе дальней зоны и связана с ней второй парой параллельных отражателей, первый из которых установлен с возможностью вывода из хода лучей. Панкратическая система ближней зоны содержит три компонента, первый - двояковыпуклая линза, второй - двояковогнутая линза, третий - положительный, неподвижный и содержит отрицательный и положительный мениски, обращенные вогнутой поверхностью к пространству предметов. Первый и второй компоненты установлены с возможностью перемещения вдоль оптической оси. Фокусные расстояния компонентов панкратических систем связаны соотношениями, приведенными в формуле изобретения. Технический результат - увеличение кратности системы при уменьшении общей длины системы и величины перемещений подвижных компонентов. 1 з.п. ф-лы, 1 ил.

Дирекция сайта "Промышленная Сибирь"
Россия, г.Омск, ул.Учебная, 199-Б, к.408А
Сайт открыт 01.11.2000
© 2000-2018 Промышленная Сибирь
Разработка дизайна сайта:
Дизайн-студия "RayStudio"