Промышленная Сибирь Ярмарка Сибири Промышленность СФО Электронные торги НОУ-ХАУ Электронные магазины Карта сайта
 
 

Поиск патентов

Как искать?
Реферат
Название
Публикация
Регистрационный номер
Имя заявителя
Имя изобретателя
Имя патентообладателя

    





Оформить заказ и задать интересующие Вас вопросы Вы можете напрямую c 6-00 до 14-30 по московскому времени кроме сб, вс. whatsapp 8-950-950-9888

На данной странице представлена ознакомительная часть выбранного Вами патента

Для получения более подробной информации о патенте (полное описание, формула изобретения и т.д.) Вам необходимо сделать заказ. Нажмите на «Корзину»


СБОРОЧНОЕ ПРИСПОСОБЛЕНИЕ

Номер публикации патента: 2413260

Вид документа: C2 
Страна публикации: RU 
Рег. номер заявки: 2008121861/28 
  Сделать заказПолучить полное описание патента

Редакция МПК: 
Основные коды МПК: G02B006/36    
Аналоги изобретения: US 5770001 A, 23.06.1998. US 5337390 A, 09.08.1994. US 6439780 B1, 27.08.2002. CN 2804887 Y, 09.08.2006. US 5408558 A, 18.04.1995. US 6931193 B2, 16.08.2005. EP 0262770 A1, 06.04.1988. 

Имя заявителя: 3М ИННОВЕЙТИВ ПРОПЕРТИЗ КОМПАНИ (US) 
Изобретатели: БРИАНТ Джон П. (US)
БИЛЕНДЕР Джеймс Р. (US)
КАРПЕНТЕР Джеймс Б. (US)
ДЖОНСОН Стивен Л. (US) 
Патентообладатели: 3М ИННОВЕЙТИВ ПРОПЕРТИЗ КОМПАНИ (US) 
Приоритетные данные: 27.12.2005 US 11/318,957 

Реферат


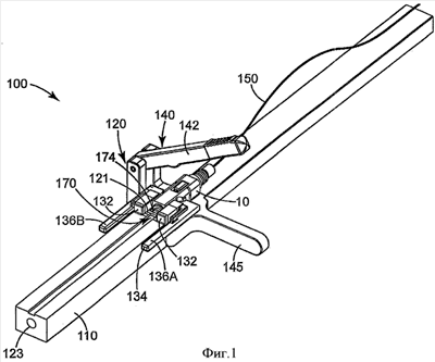
Изобретение относится к устройству и способу сборки удаленных обжимных оптических соединителей на основе муфты. Сборочное приспособление для монтажа оптического волокна в оптическом соединителе содержит основание с монтажной площадкой соединителя для приема и фиксации оптического соединителя на основании. Соединитель включает в себя корпус и муфту. Сборочное приспособление, кроме того, включает в себя механизм установки выпуска для установки выпуска выводного конца оптического волокна. Выпуск соответствует расстоянию, на которое выводной конец волокна выступает из торца муфты соединителя. Механизм установки выпуска содержит прокладку и упор волокна. Вариантом является сборочное приспособление, в котором механизм установки выпуска содержит упорный башмак, выполненный с возможностью скользящего сцепления с основанием. 2 н. и 12 з.п. ф-лы, 7 ил.

Дирекция сайта "Промышленная Сибирь"
Россия, г.Омск, ул.Учебная, 199-Б, к.408А
Сайт открыт 01.11.2000
© 2000-2018 Промышленная Сибирь
Разработка дизайна сайта:
Дизайн-студия "RayStudio"