Промышленная Сибирь Ярмарка Сибири Промышленность СФО Электронные торги НОУ-ХАУ Электронные магазины Карта сайта
 
 

Поиск патентов

Как искать?
Реферат
Название
Публикация
Регистрационный номер
Имя заявителя
Имя изобретателя
Имя патентообладателя

    





Оформить заказ и задать интересующие Вас вопросы Вы можете напрямую c 6-00 до 14-30 по московскому времени кроме сб, вс. whatsapp 8-950-950-9888

На данной странице представлена ознакомительная часть выбранного Вами патента

Для получения более подробной информации о патенте (полное описание, формула изобретения и т.д.) Вам необходимо сделать заказ. Нажмите на «Корзину»


АВТОМАТИЗИРОВАННАЯ РАДИОЛОКАЦИОННАЯ СИСТЕМА ШТОРМООПОВЕЩЕНИЯ И АКТИВНЫХ ВОЗДЕЙСТВИЙ НА ОБЛАКА

Номер публикации патента: 2395819

Вид документа: C2 
Страна публикации: RU 
Рег. номер заявки: 2008111561/28 
  Сделать заказПолучить полное описание патента

Редакция МПК: 
Основные коды МПК: G01S013/95   G01W001/00    
Аналоги изобретения: SU 117971 A1, 20.01.1958. SU 1058444 A1, 15.12.1987. RU 2005102381 A, 10.07.2006. RU 72335 U1, 10.04.2008. RU 69266 U1, 10.12.2007. 

Имя заявителя: Общество с ограниченной ответственностью "Научно-Производственный Центр "Антиград" (ООО НПЦ "Антиград") (RU) 
Изобретатели: Абшаев Али Магометович (RU)
Абшаев Магомет Тахирович (RU)
Жарашуев Мурат Владимирович (RU)
Котелевич Александр Федорович (UA)
Сирота Николай Владимирович (UA) 
Патентообладатели: Общество с ограниченной ответственностью "Научно-Производственный Центр "Антиград" (ООО НПЦ "Антиград") (RU) 

Реферат


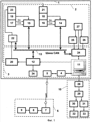
Заявленное изобретение относится к области радиометрологии и технических средств, применяемых для штормооповещения аэропортов и управления активным воздействием на облака с целью предотвращения града и искусственного увеличения осадков, система содержит вычислитель, контроллер управления радиолокатором, блок управления приводом антенны по азимуту и углу наклона, датчики углового положения антенны, блок обработки радиолокационных сигналов, обменивающиеся информацией по шине CAN, обеспечивающие и благодаря обратной связи с тахогенератором и датчиками углового положения антенны высокую точность установки заданных углов и высокую точность получаемой радиолокационной информации по 360-градусным секторам, 400 каналам дальности и заданному количеству углов наклона. Блок штормооповещения содержит вычислитель, формирующий серию метеорологических карт, устройство их кодирования в Международные коды FM-94 BUFR и FM-20 и каналы передачи информации в сеть штормооповещения и их ввода в автоматизированную систему управления воздушным движением. Техническим результатом изобретения является повышение точности управления приводом антенны МРЛ и точности получаемой радиолокационной информации. 5 з.п. ф-лы, 5 ил.

Дирекция сайта "Промышленная Сибирь"
Россия, г.Омск, ул.Учебная, 199-Б, к.408А
Сайт открыт 01.11.2000
© 2000-2018 Промышленная Сибирь
Разработка дизайна сайта:
Дизайн-студия "RayStudio"