Промышленная Сибирь Ярмарка Сибири Промышленность СФО Электронные торги НОУ-ХАУ Электронные магазины Карта сайта
 
 

Поиск патентов

Как искать?
Реферат
Название
Публикация
Регистрационный номер
Имя заявителя
Имя изобретателя
Имя патентообладателя

    





Оформить заказ и задать интересующие Вас вопросы Вы можете напрямую c 6-00 до 14-30 по московскому времени кроме сб, вс. whatsapp 8-950-950-9888

На данной странице представлена ознакомительная часть выбранного Вами патента

Для получения более подробной информации о патенте (полное описание, формула изобретения и т.д.) Вам необходимо сделать заказ. Нажмите на «Корзину»


СПОСОБ ДИАГНОСТИКИ ВЫСОКОВОЛЬТНОГО ОБОРУДОВАНИЯ

Номер публикации патента: 2434236

Вид документа: C1 
Страна публикации: RU 
Рег. номер заявки: 2010131471/28 
  Сделать заказПолучить полное описание патента

Редакция МПК: 
Основные коды МПК: G01R031/12    
Аналоги изобретения: SU 295093 А, 04.02.1971. RU 2367969 C1, 20.09.2009. WO 96/35128 A1, 07.11.1996. DE 102007015490 В3, 11.09.2008. GB 2429790 A, 07.03.2007. 

Имя заявителя: Шахнин Вадим Анатольевич (RU),
Моногаров Олег Игоревич (RU) 
Изобретатели: Шахнин Вадим Анатольевич (RU)
Моногаров Олег Игоревич (RU) 
Патентообладатели: Шахнин Вадим Анатольевич (RU)
Моногаров Олег Игоревич (RU) 

Реферат


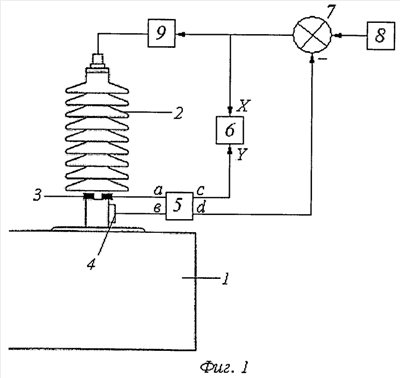
Изобретение относится к технике высоких напряжений, в частности к диагностике силовых трансформаторов методом измерения характеристик частичных разрядов. Сущность: электромагнитное поле частичных разрядов в изоляции воспринимается индуктивным и емкостным датчиками. Выходные сигналы датчиков фильтруют, усиливают и умножают один на другой. В зависимости от знака произведения формируются два сигнала. Первый сигнал пропорционален текущему значению суммарного кажущегося заряда частичных разрядов, второй - текущему значению частоты частичных разрядов. С помощью первого сигнала определяют зависимость суммарного кажущегося заряда от напряжения на высоковольтном вводе диагностируемого оборудования. С помощью второго сигнала корректируют скорость изменения напряженности электрического поля в изоляции, обеспечивая стабилизацию частоты частичных разрядов. Технический результат: уменьшение погрешности измерений, увеличение селективности и информативности частичных разрядов. 4 ил.

Дирекция сайта "Промышленная Сибирь"
Россия, г.Омск, ул.Учебная, 199-Б, к.408А
Сайт открыт 01.11.2000
© 2000-2018 Промышленная Сибирь
Разработка дизайна сайта:
Дизайн-студия "RayStudio"