Промышленная Сибирь Ярмарка Сибири Промышленность СФО Электронные торги НОУ-ХАУ Электронные магазины Карта сайта
 
 

Поиск патентов

Как искать?
Реферат
Название
Публикация
Регистрационный номер
Имя заявителя
Имя изобретателя
Имя патентообладателя

    





Оформить заказ и задать интересующие Вас вопросы Вы можете напрямую c 6-00 до 14-30 по московскому времени кроме сб, вс. whatsapp 8-950-950-9888

На данной странице представлена ознакомительная часть выбранного Вами патента

Для получения более подробной информации о патенте (полное описание, формула изобретения и т.д.) Вам необходимо сделать заказ. Нажмите на «Корзину»


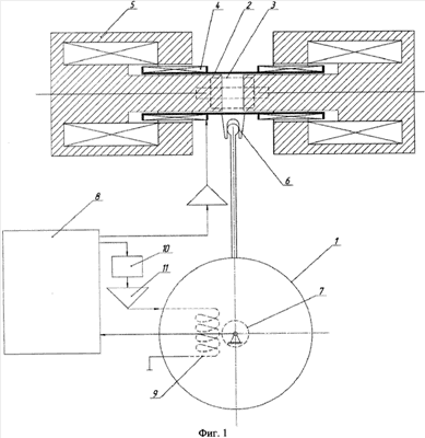
СТЕНД ДЛЯ ВОСПРОИЗВЕДЕНИЯ УГЛОВЫХ СКОРОСТЕЙ, ИЗМЕНЯЮЩИХСЯ ПО ГАРМОНИЧЕСКОМУ ЗАКОНУ

Номер публикации патента: 2460079

Вид документа: C1 
Страна публикации: RU 
Рег. номер заявки: 2011119279/28 
  Сделать заказПолучить полное описание патента

Редакция МПК: 
Основные коды МПК: G01P021/00    
Аналоги изобретения: RU 2345370 C1, 27.01.2009. RU 2306571 C1, 20.09.2007. RU 2367921 C1, 27.02.2009. RU 2378618 C2, 27.08.2009. JP 63085365 A, 15.04.1988. JP 2007171111 A, 05.07.2007. 

Имя заявителя: Открытое акционерное общество "Концерн "Центральный научно-исследовательский институт "Электроприбор" (RU) 
Изобретатели: Грязин Дмитрий Геннадьевич (RU)
Скалон Анатолий Иванович (RU)
Чекмарев Антон Борисович (RU) 
Патентообладатели: Открытое акционерное общество "Концерн "Центральный научно-исследовательский институт "Электроприбор" (RU) 

Реферат


Изобретение предназначено для оценки амплитудно-частотных и фазово-частотных характеристик датчиков угловых скоростей при необходимости их использования в навигационных приборах и других приборах управления. Стенд содержит поворотную платформу, два жестко закрепленных на основании постоянных электромагнита, две обмотки управления, выполненные в виде катушек, находящихся в рабочих зазорах электромагнитов на едином каркасе, соединенном с поворотной платформой посредством безлюфтового шарнира, датчик угла поворота платформы, закрепленный на ее валу, систему управления, частотный детектор, усилитель и электромагнитную пружину, выполненную в виде электромагнита с явно выраженными полюсами. Изобретение обеспечивает возможность воспроизведения гармонических угловых скоростей больших амплитуд с меньшей погрешностью, в расширенном частотном диапазоне. 2 ил.

Дирекция сайта "Промышленная Сибирь"
Россия, г.Омск, ул.Учебная, 199-Б, к.408А
Сайт открыт 01.11.2000
© 2000-2018 Промышленная Сибирь
Разработка дизайна сайта:
Дизайн-студия "RayStudio"