|
На данной странице представлена ознакомительная часть выбранного Вами патента
Для получения более подробной информации о патенте (полное описание, формула изобретения и т.д.) Вам необходимо сделать заказ. Нажмите на «Корзину»
| ИСПАРИТЕЛЬ ДЛЯ ГАЗОВОГО ХРОМАТОГРАФА |  |
Номер публикации патента: 2183833 |  |
| Редакция МПК: | 7 | | Основные коды МПК: | G01N030/18 | | Аналоги изобретения: | Проспект фирмы "Shimadzu" на газовый хроматограф модели GC-17А, версия 3, 1998, с.8. RU 6904 U1, 16.06.1998. RU 2069364 С1, 20.11.1996. SU 1343346, 07.10.1987. ЕР 0510511 А2, 28.10.1992. DE 3400458 A1, 25.07.1995. |
| Имя заявителя: | Закрытое акционерное общество "Научный центр "ХРОМАТЭК" | | Изобретатели: | Иванов П.Б. Стариков А.И. Устюгов В.С. Чернов М.П. | | Патентообладатели: | Закрытое акционерное общество "Научный центр "ХРОМАТЭК" |
Реферат |  |
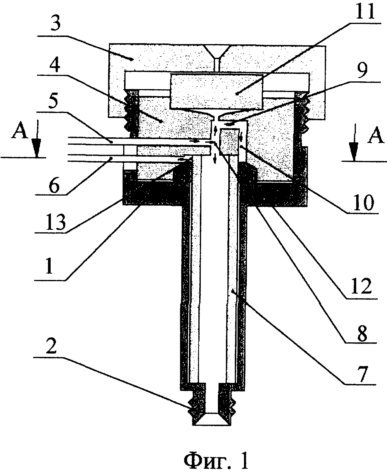
Использование: в газовой хроматографии. Сущность: в размещенной в корпусе испарителя вставке выполнены обводные каналы, а стеклянной трубкой, вставкой и эластичным уплотнительным кольцом образован кольцевой канал. Газ-носитель, подаваемый под давлением через патрубок подвода газа-носителя в нагретый до рабочей температуры испаритель, в канале вставки разделяется на три потока. Один поток направляется в камеру испарения, другой - по обводным каналам в кольцевой канал, увлекая за собой пары летучих компонентов резиновой мембраны, резинового кольца, и выходит через патрубок сброса в атмосферу. Третий, незначительный по величине поток, протекает через негерметичное соединение торца стеклянной трубки со вставкой из канала вставки в кольцевой канал вследствие перепада давления, существующего между патрубками подвода и сброса и соединенными с ними каналами вставки и кольцевым соответственно. Величина этого потока обратно пропорциональна пневмосопротивлению соединения торца стеклянной трубки со вставкой, а существование его препятствует перетеканию загрязненного парами летучих компонентов уплотнителей газа-носителя из кольцевого канала в камеру испарения. Таким образом поток чистого газа-носителя, движущийся по патрубку подвода в камеру испарения, оказывается надежно изолированным от потока газа-носителя, загрязненного парами летучих компонентов резиновых уплотнителей - мембраны и кольца. Технический результат: повышает качество газохроматографического анализа за счет значительного уменьшения вероятности попадания в хроматографическую колонку паров летучих компонентов уплотнителей испарителя. 2 ил.
|