|
На данной странице представлена ознакомительная часть выбранного Вами патента
Для получения более подробной информации о патенте (полное описание, формула изобретения и т.д.) Вам необходимо сделать заказ. Нажмите на «Корзину»
| ВИХРЕТОКОВЫЙ ДАТЧИК |  |
Номер публикации патента: 2170425 |  |
| Редакция МПК: | 7 | | Основные коды МПК: | G01N027/90 H01F003/08 | | Аналоги изобретения: | SU 540202, 25.12.1976. Дорофеев А.Л. и др. Электромагнитная дефектоскопия. - М.: Машиностроение, 1980, с. 41, рис. 15, л. RU 2039385 С1, 09.07.1995. DE 19633197 А1, 19.02.1998. |
| Имя заявителя: | Астраханский государственный технический университет | | Изобретатели: | Полухин Г.А. | | Патентообладатели: | Астраханский государственный технический университет |
Реферат |  |
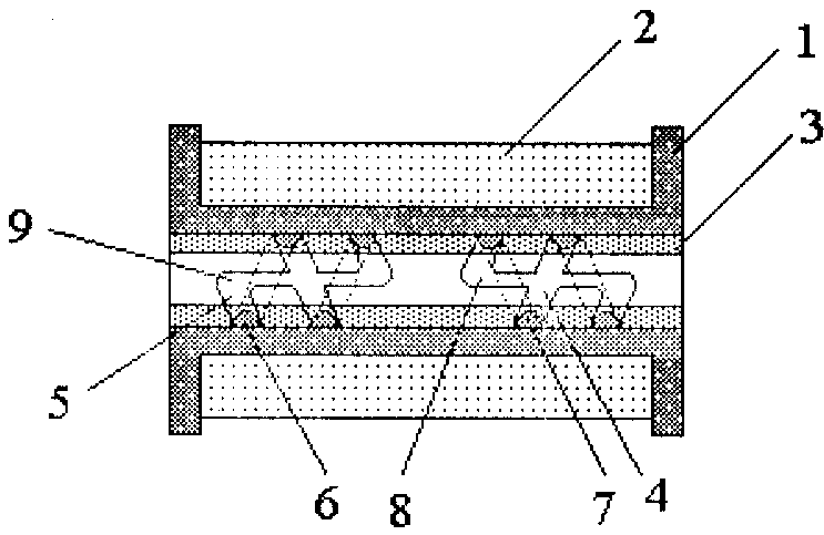
Изобретение относится к области неразрушающего контроля изделий электромагнитным методом. Датчик содержит каркас с обмоткой возбуждения и каркас с двумя дифференциально включенными измерительными обмотками. Измерительные обмотки расположены в винтообразных пазах с правым и левым шагом. Особенностью датчика является то, что межвитковое пространство измерительных обмоток заполнено ферромагнитным наполнителем. Это позволяет уменьшить магнитное сопротивление между дефектом и измерительными обмотками и тем самым повысить чувствительность датчика. 1 ил.
|