Промышленная Сибирь Ярмарка Сибири Промышленность СФО Электронные торги НОУ-ХАУ Электронные магазины Карта сайта
 
 

Поиск патентов

Как искать?
Реферат
Название
Публикация
Регистрационный номер
Имя заявителя
Имя изобретателя
Имя патентообладателя

    





Оформить заказ и задать интересующие Вас вопросы Вы можете напрямую c 6-00 до 14-30 по московскому времени кроме сб, вс. whatsapp 8-950-950-9888

На данной странице представлена ознакомительная часть выбранного Вами патента

Для получения более подробной информации о патенте (полное описание, формула изобретения и т.д.) Вам необходимо сделать заказ. Нажмите на «Корзину»


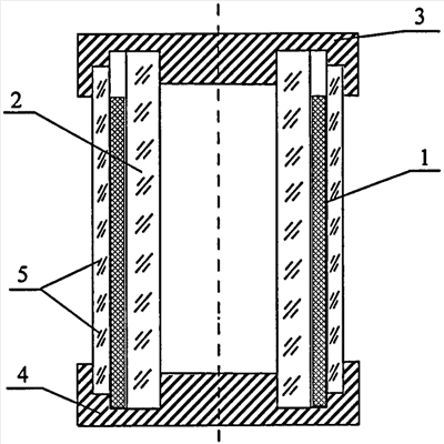
СПОСОБ ИЗМЕРЕНИЯ КОЭФФИЦИЕНТА ТЕРМИЧЕСКОГО РАСШИРЕНИЯ ПЛЕНОЧНЫХ ОБРАЗЦОВ

Номер публикации патента: 2392611

Вид документа: C1 
Страна публикации: RU 
Рег. номер заявки: 2009121188/28 
  Сделать заказПолучить полное описание патента

Редакция МПК: 
Основные коды МПК: G01N025/16    
Аналоги изобретения: SU 1260797 A1, 30.09.1986. АМАТУНИ А.Н. МЕТОДЫ И ПРИБОРЫ ДЛЯ ОПРЕДЕЛЕНИЯ ТКЛР. - М.: СТАНДАРТ, 1972, 19-23. АМАТУНИ А.Н. МЕТОДЫ И ПРИБОРЫ ДЛЯ ОПРЕДЕЛЕНИЯ ТКЛР. - М.: СТАНДАРТ, 1972, 84-90. JP 3056846 A, 12.03.1991. JP 8178877 A, 12.07.1996. 

Имя заявителя: Федеральное государственное унитарное предприятие федеральный научно-производственный центр "Научно-исследовательский институт измерительных систем им. Ю.Е. Седакова" (RU) 
Изобретатели: Зуев Антон Алексеевич (RU)
Сысоев Владимир Сергеевич (RU) 
Патентообладатели: Федеральное государственное унитарное предприятие федеральный научно-производственный центр "Научно-исследовательский институт измерительных систем им. Ю.Е. Седакова" (RU) 

Реферат


Изобретение относится к тепловым испытаниям материалов, а именно к способам определения коэффициента термического расширения пленочных образцов. Техническим результатом заявляемого способа является обеспечение возможности реализации измерения коэффициента термического расширения пленочных материалов. Способ измерения коэффициента термического расширения пленочных образцов состоит в том, что испытуемый образец размещают в зазоре между трубчатым держателем и направляющим элементом с малым коэффициентом термического расширения таким образом, чтобы одна из торцевых сторон образца фиксировалась путем размещения ее в пазу между основанием и трубчатым держателем, а другая имела возможность свободного перемещения при нагревании; изменяют температуру и по изменению линейных размеров образца, вызванному температурными воздействиями, судят о коэффициенте термического расширения. 1 ил.

Дирекция сайта "Промышленная Сибирь"
Россия, г.Омск, ул.Учебная, 199-Б, к.408А
Сайт открыт 01.11.2000
© 2000-2018 Промышленная Сибирь
Разработка дизайна сайта:
Дизайн-студия "RayStudio"