Промышленная Сибирь Ярмарка Сибири Промышленность СФО Электронные торги НОУ-ХАУ Электронные магазины Карта сайта
 
 

Поиск патентов

Как искать?
Реферат
Название
Публикация
Регистрационный номер
Имя заявителя
Имя изобретателя
Имя патентообладателя

    





Оформить заказ и задать интересующие Вас вопросы Вы можете напрямую c 6-00 до 14-30 по московскому времени кроме сб, вс. whatsapp 8-950-950-9888

На данной странице представлена ознакомительная часть выбранного Вами патента

Для получения более подробной информации о патенте (полное описание, формула изобретения и т.д.) Вам необходимо сделать заказ. Нажмите на «Корзину»


ГАЗОАНАЛИЗАТОР И ОПТИЧЕСКИЙ БЛОК, ИСПОЛЬЗУЕМЫЙ В НЕМ

Номер публикации патента: 2451285

Вид документа: C1 
Страна публикации: RU 
Рег. номер заявки: 2010147341/28 
  Сделать заказПолучить полное описание патента

Редакция МПК: 
Основные коды МПК: G01N021/35    
Аналоги изобретения: ЕР 2169384 А1, 31.03.2010. RU 2372606 C1, 10.11.2009. US 6114700 A, 05.09.2000. RU 2287803 C2, 20.11.2006. GB 2401432 A, 10.11.2004. ГОНДА С. и др. Оптоэлектроника в вопросах и ответах. - Л.: Энергоатомиздат, 1989, с.109. RU 75885 U1, 27.08.2008. WO 1996001418 А1, 18.01.1996. 

Имя заявителя: Общество с ограниченной ответственностью "Оптосенс" (RU) 
Изобретатели: Максютенко Михаил Анатольевич (RU)
Непомнящий Сергей Васильевич (RU)
Погодина Софья Борисовна (RU)
Хребтов Вячеслав Владимирович (RU) 
Патентообладатели: Общество с ограниченной ответственностью "Оптосенс" (RU) 

Реферат


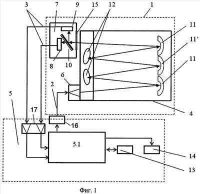
Изобретение относится к измерительной технике, а именно к приборам контроля содержания углеводородов в атмосфере. Газоанализатор содержит оптический блок 1, внутри которого сформирован канал 4 для прохождения инфракрасного излучения (ИК), блок 5 управления, источник 6 ИК излучения и приемник 7 ИК излучения, в качестве которого используется быстродействующий дифференциальный фотогальванический приемник с фильтром-зеркалом. Оптический блок 1 газоанализатора содержит внутренний канал 4 для прохождения инфракрасного излучения, выполненный в виде многоходовой зеркальной оптической кюветы с возможностью концентрации пропускаемого по ней инфракрасного излучения, источник 6 ИК излучения и приемник 7 ИК излучения. В качестве источника 6 ИК излучения применен быстродействующий импульсный светодиод, создающий направленное инфракрасное излучение на концентратор, находящийся в кювете. Изобретение обеспечивает высокую чувствительность, высокий коэффициент передачи ИК излучения, минимальное рассеивание энергии излучения от ее источника до ее приемника, малые габариты и минимальное энергопотребление. 2 н. и 1 з.п. ф-лы, 7 ил.

Дирекция сайта "Промышленная Сибирь"
Россия, г.Омск, ул.Учебная, 199-Б, к.408А
Сайт открыт 01.11.2000
© 2000-2018 Промышленная Сибирь
Разработка дизайна сайта:
Дизайн-студия "RayStudio"