Промышленная Сибирь Ярмарка Сибири Промышленность СФО Электронные торги НОУ-ХАУ Электронные магазины Карта сайта
 
 

Поиск патентов

Как искать?
Реферат
Название
Публикация
Регистрационный номер
Имя заявителя
Имя изобретателя
Имя патентообладателя

    





Оформить заказ и задать интересующие Вас вопросы Вы можете напрямую c 6-00 до 14-30 по московскому времени кроме сб, вс. whatsapp 8-950-950-9888

На данной странице представлена ознакомительная часть выбранного Вами патента

Для получения более подробной информации о патенте (полное описание, формула изобретения и т.д.) Вам необходимо сделать заказ. Нажмите на «Корзину»


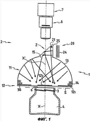
ОСВЕТИТЕЛЬНОЕ УСТРОЙСТВО И СПОСОБ ОБНАРУЖЕНИЯ ДЕФЕКТОВ НА ПОВЕРХНОСТИ ГОРЛОВИНЫ ЕМКОСТИ

Номер публикации патента: 2397477

Вид документа: C2 
Страна публикации: RU 
Рег. номер заявки: 2007117364/28 
  Сделать заказПолучить полное описание патента

Редакция МПК: 
Основные коды МПК: G01N021/95    
Аналоги изобретения: US 6122048 А, 19.09.2000. ЕР 0763727 A1, 19.03.1997. US 2004/0150815 A1, 05.08.2004. SU 1433426 A3, 23.10.1988. 

Имя заявителя: ТИАМА (FR) 
Изобретатели: КОЛЛЕ Оливье (FR) 
Патентообладатели: ТИАМА (FR) 
Приоритетные данные: 09.11.2004 FR 0411907 

Реферат


Изобретение относится к измерительной технике. Изобретение предлагает осветительное устройство (1) для установки (2), выполненной с возможностью определения по изображению наличия дефектов на поверхности (s) горловины прозрачной или светопроницаемой емкости (4). В соответствии с изобретением устройство содержит, по меньшей мере, одну осветительную систему (11, 20), обеспечивающую в каждой точке поверхности охватывающей поверхность (s) горловины квазипостоянное освещение под всеми углами или частью углов падения, заключенных, по меньшей мере, в части телесного угла в 2 стерадиан, и средства (12) для блокирования, по меньшей мере, части световых лучей, освещающих области, находящиеся вне поверхности (s) горловины (3), и способных порождать паразитные отражения в изображении горловины. Технический результат - повышение надежности выявления дефектов различных типов. 3 н. 12 з.п. ф-лы, 4 ил.

Дирекция сайта "Промышленная Сибирь"
Россия, г.Омск, ул.Учебная, 199-Б, к.408А
Сайт открыт 01.11.2000
© 2000-2018 Промышленная Сибирь
Разработка дизайна сайта:
Дизайн-студия "RayStudio"