Промышленная Сибирь Ярмарка Сибири Промышленность СФО Электронные торги НОУ-ХАУ Электронные магазины Карта сайта
 
 

Поиск патентов

Как искать?
Реферат
Название
Публикация
Регистрационный номер
Имя заявителя
Имя изобретателя
Имя патентообладателя

    





Оформить заказ и задать интересующие Вас вопросы Вы можете напрямую c 6-00 до 14-30 по московскому времени кроме сб, вс. whatsapp 8-950-950-9888

На данной странице представлена ознакомительная часть выбранного Вами патента

Для получения более подробной информации о патенте (полное описание, формула изобретения и т.д.) Вам необходимо сделать заказ. Нажмите на «Корзину»


СПОСОБ И УСТРОЙСТВО УПРАВЛЕНИЯ ФРИКЦИОННЫМ ВЗАИМОДЕЙСТВИЕМ ПАР ТРЕНИЯ

Номер публикации патента: 2374628

Вид документа: C1 
Страна публикации: RU 
Рег. номер заявки: 2008138773/28 
  Сделать заказПолучить полное описание патента

Редакция МПК: 
Основные коды МПК: G01N019/02    
Аналоги изобретения: SU 705312 A1, 25.12.1979. SU 1388769 A2, 15.04.1988. RU 2287801 С1, 20.11.2006. SU 665244 A1, 30.05.1979. 

Имя заявителя: Институт Прикладной механики УрО РАН (RU) 
Изобретатели: Чуркин Александр Викторович (RU)
Тарасов Валерий Васильевич (RU)
Дементьев Вячеслав Борисович (RU) 
Патентообладатели: Институт Прикладной механики УрО РАН (RU) 

Реферат


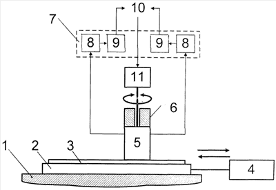
Изобретение относится к области механики твердого тела, а именно к способам управления фрикционными и тормозными устройствами. Технический результат заключается в возможности управления параметрами контакта фрикционных узлов и механизмов с использованием эффекта анизотропного трения. Устройство управления фрикционным взаимодействием пар трения содержит держатель образца, привод перемещения держателя, индентор, взаимодействующий с ним механизм нагружения, связанный с индентором двухкомпонентный датчик силы. При этом устройство снабжено приводом вращения индентора и автоматическим вычислителем, выход которого включен в цепь управления приводом вращения индентора, а входы подключены к двухкомпонентному датчику силы, причем индентор выполнен таким образом, что в зоне контакта имеет выраженную анизотропию поверхностных физико-механических свойств с известным расположением осей скольжения, а привод перемещения держателя образца выполнен независимым. Способ реализуется вышеуказанным устройством. 2 н. и 1 з.п. ф-лы, 1 ил.

Дирекция сайта "Промышленная Сибирь"
Россия, г.Омск, ул.Учебная, 199-Б, к.408А
Сайт открыт 01.11.2000
© 2000-2018 Промышленная Сибирь
Разработка дизайна сайта:
Дизайн-студия "RayStudio"