Промышленная Сибирь Ярмарка Сибири Промышленность СФО Электронные торги НОУ-ХАУ Электронные магазины Карта сайта
 
 

Поиск патентов

Как искать?
Реферат
Название
Публикация
Регистрационный номер
Имя заявителя
Имя изобретателя
Имя патентообладателя

    





Оформить заказ и задать интересующие Вас вопросы Вы можете напрямую c 6-00 до 14-30 по московскому времени кроме сб, вс. whatsapp 8-950-950-9888

На данной странице представлена ознакомительная часть выбранного Вами патента

Для получения более подробной информации о патенте (полное описание, формула изобретения и т.д.) Вам необходимо сделать заказ. Нажмите на «Корзину»


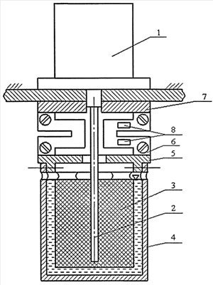
РОТАЦИОННЫЙ ВИСКОЗИМЕТР

Номер публикации патента: 2424500

Вид документа: C1 
Страна публикации: RU 
Рег. номер заявки: 2010102043/28 
  Сделать заказПолучить полное описание патента

Редакция МПК: 
Основные коды МПК: G01N011/10    
Аналоги изобретения: JP 2008020465 A1, 31.01.2008. RU 2196318 C2, 10.03.2003. US 5201214 A, 13.04.1993. SU 616561 A, 25.07.1978. SU 1363017 A1, 30.12.1987. SU 972328 A, 07.11.1982. 

Имя заявителя: Общество с ограниченной ответственностью "Научно-производственное предприятие "Орион ВДМ" (ООО НПП "Орион ВДМ") (RU) 
Изобретатели: Миньков Дмитрий Васильевич (RU)
Никитенко Николай Федорович (RU)
Винник Роман Николаевич (RU)
Костин Виктор Григорьевич (RU) 
Патентообладатели: Общество с ограниченной ответственностью "Научно-производственное предприятие "Орион ВДМ" (ООО НПП "Орион ВДМ") (RU) 

Реферат


Изобретение относится к области измерительной техники и предназначено для измерения вязкости различных жидкостей. Ротационный вискозиметр содержит привод, на валу которого закреплен вращающийся цилиндр, соосный с ним воспринимающий цилиндр, соединенный с упругим элементом. Также вискозиметр содержит датчик угла поворота воспринимающего цилиндра. При этом упругий элемент содержит поворотный и неподвижный диски. Воспринимающий цилиндр выполнен в виде стакана и соосно закреплен на поворотном диске упругого элемента. Причем поворотный диск посредством П-образных плоских пружин, которые размещены равномерно вокруг вала, связан с неподвижным диском упругого элемента. При этом П-образные плоские пружины закреплены радиально по периферии дисков, снабженных осевыми отверстиями для прохода вала привода. Кроме того, датчик угла поворота воспринимающего цилиндра выполнен на базе тензорезисторов, наклеенных на поверхность одной из П-образных плоских пружин. Техническим результатом изобретения является упрощение конструкции, а также уменьшение погрешности измерения вязкости. 1 з.п. ф-лы, 1 ил.

Дирекция сайта "Промышленная Сибирь"
Россия, г.Омск, ул.Учебная, 199-Б, к.408А
Сайт открыт 01.11.2000
© 2000-2018 Промышленная Сибирь
Разработка дизайна сайта:
Дизайн-студия "RayStudio"