Промышленная Сибирь Ярмарка Сибири Промышленность СФО Электронные торги НОУ-ХАУ Электронные магазины Карта сайта
 
 

Поиск патентов

Как искать?
Реферат
Название
Публикация
Регистрационный номер
Имя заявителя
Имя изобретателя
Имя патентообладателя

    





Оформить заказ и задать интересующие Вас вопросы Вы можете напрямую c 6-00 до 14-30 по московскому времени кроме сб, вс. whatsapp 8-950-950-9888

На данной странице представлена ознакомительная часть выбранного Вами патента

Для получения более подробной информации о патенте (полное описание, формула изобретения и т.д.) Вам необходимо сделать заказ. Нажмите на «Корзину»


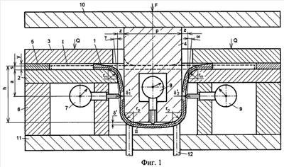
СПОСОБ ИСПЫТАНИЯ ЛИСТОВОГО МАТЕРИАЛА НА ПРУЖИНЕНИЕ И ПРЕДЕЛЬНЫЕ ПАРАМЕТРЫ ПРИ ВЫТЯЖКЕ СТАКАНА С ФЛАНЦЕМ (ВАРИАНТЫ)

Номер публикации патента: 2460985

Вид документа: C2 
Страна публикации: RU 
Рег. номер заявки: 2010100075/28 
  Сделать заказПолучить полное описание патента

Редакция МПК: 
Основные коды МПК: G01N003/28    
Аналоги изобретения: RU 2344406 C2, 20.01.2009. RU 2333471 C2, 10.09.2008. SU 1397793 A1, 23.05.1988. EP 541518 B1, 16.08.1995. 

Имя заявителя: Открытое акционерное общество "АВТОВАЗ" (RU) 
Изобретатели: Ананченко Игорь Юрьевич (RU)
Жарков Валерий Алексеевич (RU)
Кирюшин Александр Анатольевич (RU)
Афанасьев Евгений Васильевич (RU) 
Патентообладатели: Открытое акционерное общество "АВТОВАЗ" (RU) 

Реферат


Изобретение относится к листовой штамповке. Сущность: осуществляют испытание на вытяжку заготовки в стенки стакана на любой угол до 90° от горизонтали, оставляя плоскими края стакана. Для испытания в качестве технического устройства используют штамп-прибор с пуансоном, матрицей и прижимом. Штамп-прибор устанавливается на прессовое оборудование, а в качестве измерительных приборов применяют индикаторы, при помощи которых с высокой точностью определяют линейные, а после расчетов и угловые параметры точности геометрии стакана. Технический результат: разработка способа технологического испытания листового материала на пружинение и предельные параметры при вытяжке стакана с фланцем, соответствующего схеме формоизменения заготовки в производственных условиях на операциях вытяжки разнообразных деталей из заготовок больших толщин и размеров, изготовленных из высокопрочных листовых материалов, и позволяющего более строго определить пригодность материала для штамповки деталей повышенной точности на данных операциях. 2 н.п. ф-лы, 6 ил.

Дирекция сайта "Промышленная Сибирь"
Россия, г.Омск, ул.Учебная, 199-Б, к.408А
Сайт открыт 01.11.2000
© 2000-2018 Промышленная Сибирь
Разработка дизайна сайта:
Дизайн-студия "RayStudio"