Промышленная Сибирь Ярмарка Сибири Промышленность СФО Электронные торги НОУ-ХАУ Электронные магазины Карта сайта
 
 

Поиск патентов

Как искать?
Реферат
Название
Публикация
Регистрационный номер
Имя заявителя
Имя изобретателя
Имя патентообладателя

    





Оформить заказ и задать интересующие Вас вопросы Вы можете напрямую c 6-00 до 14-30 по московскому времени кроме сб, вс. whatsapp 8-950-950-9888

На данной странице представлена ознакомительная часть выбранного Вами патента

Для получения более подробной информации о патенте (полное описание, формула изобретения и т.д.) Вам необходимо сделать заказ. Нажмите на «Корзину»


БЛОК ПЕРЕДАЧИ ТЯГОВОГО УСИЛИЯ ДЛЯ УСТРОЙСТВА ИСПЫТАНИЯ ПРИЛИПАНИЯ ПОКРЫВАЮЩЕГО СЛОЯ К ПОДЛОЖКЕ

Номер публикации патента: 2403558

Вид документа: C2 
Страна публикации: RU 
Рег. номер заявки: 2008116628/28 
  Сделать заказПолучить полное описание патента

Редакция МПК: 
Основные коды МПК: G01N019/04    
Аналоги изобретения: GB 2196437 A1, 27.04.1988. US 6050140 A1, 18.04.2000. US 4606225 A1, 19.08.1986. US 3821892 A1, 02.07.1974. 

Имя заявителя: ЭРБЮС ФРАНС (FR) 
Изобретатели: РЭ Стефан (FR) 
Патентообладатели: ЭРБЮС ФРАНС (FR) 
Приоритетные данные: 28.09.2005 FR 0552936 

Реферат


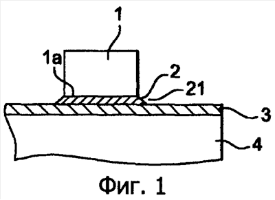
Изобретение относится к устройствам измерения параметров прилипания покрывающих слоев. Техническим результатом является точность измерений и повышение технологичности испытаний. Блок приложения тяговых усилий (1) с осью отсчета (20) содержит нижнюю поверхность (1а) для испытаний на прилипание покрывающего слоя (3) на подложку (4) и прикрепляется до испытаний к поверхности покрывающего слоя (3) клеем (2). Причем блок содержит на внутренней поверхности (1а), предназначенной для приклеивания на покрывающий слой (3): цекованную поверхность (11), глубина которой строго соответствует определяемой толщине клея (2), определяемой для крепления блока приложения тяговых усилий (1) на покрывающий слой (3); средства удержания на расстоянии (12, 13) основания (11а) цекованной поверхности (11) для обеспечения стабильности блока приложения тяговых усилий (1) и перпендикулярности его оси (20) относительно поверхности испытываемого покрывающего слоя (3) во время прикладывания нижней поверхности (1а) блока (1) к поверхности покрывающего слоя (3). 2 н. и 13 з.п. ф-лы, 10 ил.

Дирекция сайта "Промышленная Сибирь"
Россия, г.Омск, ул.Учебная, 199-Б, к.408А
Сайт открыт 01.11.2000
© 2000-2018 Промышленная Сибирь
Разработка дизайна сайта:
Дизайн-студия "RayStudio"