Промышленная Сибирь Ярмарка Сибири Промышленность СФО Электронные торги НОУ-ХАУ Электронные магазины Карта сайта
 
 

Поиск патентов

Как искать?
Реферат
Название
Публикация
Регистрационный номер
Имя заявителя
Имя изобретателя
Имя патентообладателя

    





Оформить заказ и задать интересующие Вас вопросы Вы можете напрямую c 6-00 до 14-30 по московскому времени кроме сб, вс. whatsapp 8-950-950-9888

На данной странице представлена ознакомительная часть выбранного Вами патента

Для получения более подробной информации о патенте (полное описание, формула изобретения и т.д.) Вам необходимо сделать заказ. Нажмите на «Корзину»


ИСПЫТАТЕЛЬНЫЙ СТЕНД ПРОВЕРКИ РАСКРЫТИЯ АЭРОДИНАМИЧЕСКОГО РУЛЯ РАКЕТЫ

Номер публикации патента: 2382348

Вид документа: C1 
Страна публикации: RU 
Рег. номер заявки: 2008128290/28 
  Сделать заказПолучить полное описание патента

Редакция МПК: 
Основные коды МПК: G01M019/00    
Аналоги изобретения: RU 49258 U1, 10.11.2005. RU 2173829 С1, 20.09.2001. RU 2182702 C2, 20.05.2002. 

Имя заявителя: Открытое акционерное общество "Государственное машиностроительное конструкторское бюро "Вымпел" им. И.И. Торопова" (RU) 
Изобретатели: Волков Владимир Николаевич (RU)
Мурачев Александр Александрович (RU)
Путицкий Владимир Михайлович (RU)
Ермолаев Андрей Юрьевич (RU)
Гегелев Анатолий Владимирович (RU)
Руфов Василий Егорович (RU) 
Патентообладатели: Открытое акционерное общество "Государственное машиностроительное конструкторское бюро "Вымпел" им. И.И. Торопова" (RU) 

Реферат


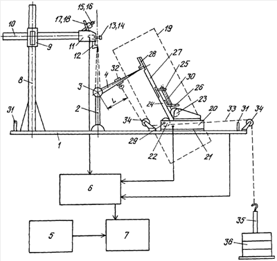
Изобретение относится к области испытательной техники и может быть использовано для контроля параметров технического состояния элементов механизмов принудительного раскрытия аэродинамических рулей. Устройство содержит монтажное основание - платформу, на которой установлен испытуемый руль с поворотной консолью и проверяемым механизмом раскрытия, и элементную базу, включающую блок ввода требуемых условий проверки руля, устройство обработки и анализа данных, и модуль согласования параметров. Также оно снабжено жестко закрепленным на платформе штативом с подвижным бегунком, в который установлен шток, имеющий возможность горизонтального и вращательного перемещения с последующей фиксацией положения, а на конце штока установлена рамка с подпружиненной опорной пластиной и подвижным сигнализатором раскрытия для контакта с поворотной консолью, а также регулировочным элементом для приведения пружины с опорной пластиной в рабочее положение и регулирования ее усилий, и регулировочным элементом для обеспечения надежного соприкосновения подвижного сигнализатора раскрытия с поворотной консолью руля. Кроме того, введен механизм удержания консоли руля, состоящий из установленной с возможностью перемещения по платформе с последующей фиксацией подвижной каретки, на которой установлены два эксцентрика, между которыми расположен рычаг с предохранительным кольцом и тягой, а также удлинитель рычага с фиксатором поворотной консоли, при этом каретка механизма удержания связана электрическим сигналом с устройство обработки и анализа данных. Технический результат заключается в расширении функциональных возможностей, повышении точности измерений, сокращения сроков испытаний. 3 з.п. ф-лы, 1 ил.

Дирекция сайта "Промышленная Сибирь"
Россия, г.Омск, ул.Учебная, 199-Б, к.408А
Сайт открыт 01.11.2000
© 2000-2018 Промышленная Сибирь
Разработка дизайна сайта:
Дизайн-студия "RayStudio"