Промышленная Сибирь Ярмарка Сибири Промышленность СФО Электронные торги НОУ-ХАУ Электронные магазины Карта сайта
 
 

Поиск патентов

Как искать?
Реферат
Название
Публикация
Регистрационный номер
Имя заявителя
Имя изобретателя
Имя патентообладателя

    





Оформить заказ и задать интересующие Вас вопросы Вы можете напрямую c 6-00 до 14-30 по московскому времени кроме сб, вс. whatsapp 8-950-950-9888

На данной странице представлена ознакомительная часть выбранного Вами патента

Для получения более подробной информации о патенте (полное описание, формула изобретения и т.д.) Вам необходимо сделать заказ. Нажмите на «Корзину»


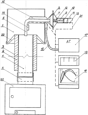
ИСПЫТАТЕЛЬНЫЙ СТЕНД

Номер публикации патента: 2365890

Вид документа: C1 
Страна публикации: RU 
Рег. номер заявки: 2007144795/28 
  Сделать заказПолучить полное описание патента

Редакция МПК: 
Основные коды МПК: G01M015/00    
Аналоги изобретения: SU 1315771 A1, 07.06.1987. SU 1771872 A1, 30.10.1992. AT 397719 В, 27.06.1994. US 5915343 А, 29.06.1999. 

Имя заявителя: Котенев Сергей Михайлович (RU),
Котенева Наталья Вадиславовна (RU) 
Изобретатели: Котенев Сергей Михайлович (RU)
Котенева Наталья Вадиславовна (RU) 
Патентообладатели: Котенев Сергей Михайлович (RU)
Котенева Наталья Вадиславовна (RU) 

Реферат


Изобретение относится к теплотехнике. Применение испытательного стенда для выдачи сертификата пожарной безопасности и определения степени загрязнения окружающей среды. Испытательный стенд состоит из вертикально установленной тонкостенной трубы, покрытой теплоизоляцией и обернутой теплоотражающим экраном из полированной фольги, при этом испытательный стенд в своей верхней части имеет отсекатель воздушного потока, установленный при помощи кронштейнов, в котором закреплена изогнутая трубка манометра, свободным концом обращенная в полость трубы, другим концом, по резьбе, ввернутая в манометр с диафрагмой, имеющий две области для создания давлений, толкатель, реостат, подвижный электрический контакт, самописец или компьютер для регистрации информации, а на трубке манометра закреплен термодатчик и патрубок отбора газов, присоединенный трубкой к анализатору газов. Технический результат - создание испытательного стенда для введения единого метрологического метода измерения потерь тепловой энергии и количества неактивированного углеводорода. 1 з.п. ф-лы, 1 ил.

Дирекция сайта "Промышленная Сибирь"
Россия, г.Омск, ул.Учебная, 199-Б, к.408А
Сайт открыт 01.11.2000
© 2000-2018 Промышленная Сибирь
Разработка дизайна сайта:
Дизайн-студия "RayStudio"